Curiosii for ever!: Car repair manuals for everyone.

Cylinder Head Assembly: Service and Repair

Cylinder Head

REMOVAL
1) Remove the V-belt.
2) Remove the crankshaft pulley.
3) Remove the timing belt cover.
4) Remove the timing belt.
5) Remove the camshaft sprocket.
6) Remove the intake manifold.
7) Remove the bolt which installs A/C compressor bracket on cylinder head.
8) Remove the valve rocker assembly.
9) Remove the camshaft.





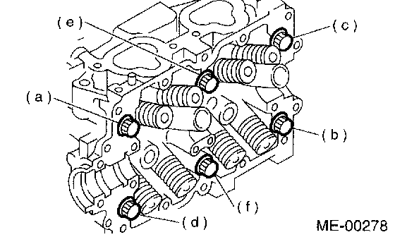
10) Remove the cylinder head bolts in alphabetical sequence shown in the figure.

NOTE: Leave bolts (a) and (c) engaged by three or four threads to prevent cylinder head from falling.

11) While tapping the cylinder head with a plastic hammer, separate it from cylinder block.





12) Remove bolts (a) and (c) to remove cylinder head.
13) Remove the cylinder head gasket.

CAUTION: Do not scratch the mating surface of cylinder head and cylinder block.

14) Similarly, remove the right side cylinder head.

INSTALLATION
1) Install the cylinder head and gaskets on cylinder block.

CAUTION:
^ Use new cylinder head gaskets.
^ Be careful not to scratch the mating surface of cylinder block and cylinder head.

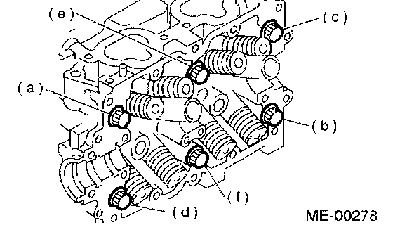
2) Tighten the cylinder head bolts.
a) Apply a coat of engine oil to the washers and bolt threads.
b) Tighten all bolts to 29 Nm (3.0 kgf-m, 22 ft. lbs.) in alphabetical sequence.
Then tighten all bolts to 69 Nm (7.0 kgf-m, 51 ft. lbs.) in alphabetical sequence.
c) Back off all bolts in reverse order of assembly by 180° first; back them off by 180° again.
d) Tighten the bolts (a) and (b) to 34 Nm (3.5 kgf-m, 25 ft. lbs.).
e) Tighten bolts (c), (d), (e) and (f) to 15 Nm (1.5 kgf-m, 11 ft. lbs.).
f) Tighten all bolts by 80 to 90° in alphabetical sequence.

CAUTION: Do not tighten bolts more than 90°.





g) Further tighten all bolts by 80 to 90° in alphabetical sequence shown in figure below.

CAUTION: Ensure that the total "re-tightening angle" [in the former two steps], do not exceed 180°.

3) Install the camshaft.
4) Install the valve rocker assembly.
5) Install the A/C compressor bracket on cylinder head.
6) Install the intake manifold.
7) Install the camshaft sprocket.
8) Install the timing belt.
9) Install the timing belt cover.
10) Install the crankshaft pulley.
11) Install the V-belt.

DISASSEMBLY
1) Place the cylinder head on ST.
ST 498267800 CYLINDER HEAD TABLE





2) Set the ST on valve spring. Compress the valve spring, and then remove the valve spring retainer key. Remove each valve and valve spring.
ST 499718000 VALVE SPRING REMOVER

CAUTION:
^ Mark each valve to prevent confusion.
^ Use extreme care not to damage the lips of intake valve oil seals and exhaust valve oil seals.

ASSEMBLY





1) Installation of valve spring and valve
a) Place the cylinder head on ST.
ST 498267800 CYLINDER HEAD TABLE
b) Coat the stem of each valve with engine oil and insert valve into valve guide.

NOTE: When inserting the valve into valve guide, use special care not to damage the oil seal lip.

c) Install the valve spring and retainer.

NOTE: Be sure to install the valve springs with their close coiled end facing the seat on the cylinder head.





d) Set the ST on valve spring.
ST 499718000 VALVE SPRING REMOVER





e) Compress the valve spring, and then fit the valve spring retainer key.
f) After installing, tap the valve spring retainers lightly with a plastic hammer for better seating.

INSPECTION
VALVE SPRING
a) Check the valve springs for damage, free length, and tension. Replace the valve spring if it is not to the specifications presented below.








b) To measure the squareness of valve spring, stand the spring on a surface plate and measure its deflection at the top using a try square.

INTAKE AND EXHAUST VALVE OIL SEAL
In the following cases, replace the oil seal with a new one using pliers to pinch and remove the seal from the valve.
^ The lip is damaged.
^ The spring is out of place.
^ Valve and valve seat need reconditioning.
^ Valve guide needs replacement.

a) Place the cylinder head on ST1.





b) Press-fit oil seal to the specified dimension indicated in the figure using ST2.

CAUTION:
^ Apply engine oil to oil seal before press-fitting.
^ When press-fitting oil seal, do not use a hammer or drive the seal.
^ Differentiate between intake valve oil seal and exhaust valve oil seal by noting their difference in color.

ST1 498267800 CYLINDER HEAD TABLE
ST2 498857100 VALVE OIL SEAL GUIDE
Color of rubber part:
Intake [Black]
Exhaust [Browns]
Color of spring part:
Intake [Silver]
Exhaust [Silver]

ADJUSTMENT
CYLINDER HEAD
a) Make sure that no cracks or other damage exists. In addition to visual inspection, inspect important areas by means of red lead check. Also make sure that gasket installing surface shows no trace of fuel and water leaks.
b) Place the cylinder head on ST.
ST 498267800 CYLINDER HEAD TABLE





c) Measure the warping of the cylinder head surface that mates with crankcase using a straight edge and thickness gauge. If the warping exceeds 0.05 mm (0.0020 inch), regrind the surface with a surface grinder.
Warping limit: 0.05 mm (0.0020 inch)
Grinding limit: 0.1 mm (0.004 inch)
Standard height of cylinder head: 97.5 mm (3.839 inch)

NOTE: Uneven torque for the cylinder head bolts can cause warping. When reassembling, pay special attention to the torque so as to tighten evenly.








VALVE SEAT
Inspect the intake and exhaust valve seats, and then correct the contact surfaces with valve seat cutter if they are defective or when valve guides are replaced.
Valve seat width: W
Intake (A)
Standard 1.1 mm (0.043 inch)
Limit 1.8 mm (0.071 inch)
Exhaust (B)
Standard 1.5 mm (0.059 inch)
Limit 2.2 mm (0.087 inch)

VALVE GUIDE








a) Check the clearance between valve guide and stem. The clearance can be checked by measuring the outside diameter of valve stem and the inside diameter of valve guide with outside and inside micrometers respectively.
Clearance between the valve guide and valve stem:
Standard
Intake 0.035 - 0.062 mm (0.0014 - 0.0024 inch)
Exhaust 0.040 - 0.067 mm (0.0016 - 0.0026 inch)
Limit 0.15 mm (0.0059 inch)
b) If the clearance between valve guide and stem exceeds the limit, replace the valve guide or valve itself whichever shows greater amount of wear. See the following procedure for valve guide replacement.
Valve guide inner diameter: 6.000 - 6.012 mm (0.2362 - 0.2367 inch)
Valve stem outer diameters:
Intake 5.950 - 5.965 mm (0.2343 - 0.2348 inch)
Exhaust 5.945 - 5.960 mm (0.2341 - 0.2346 inch)
a) Place the cylinder head on ST1 with the combustion chamber upward so that valve guides enter the holes in ST1.





b) Insert the ST2 into valve guide and press it down to remove valve guide.
ST1 498267800 CYLINDER HEAD TABLE
ST2 499767200 VALVE GUIDE REMOVER





c) Turn the cylinder head upside down and place ST as shown in the figure.
Intake side:
ST 499767700 VALVE GUIDE ADJUSTER
Exhaust side:
ST 499767800 VALVE GUIDE ADJUSTER
d) Before installing new oversize valve guide, make sure that neither scratches nor damages exist on the inside surface of valve guide holes in cylinder head.





e) Put new valve guide, coated with sufficient oil, in the cylinder, and then insert the ST1 into valve guide. Press in until the valve guide upper end is flush with the upper surface of ST2.
ST1 499767200 VALVE GUIDE REMOVER
Intake side:
ST2 499767700 VALVE GUIDE ADJUSTER
Exhaust side:
ST2 499767800VALVE GUIDE ADJUSTER





f) Check the valve guide protrusion.
Valve guide protrusion: L
Intake 20.0 - 20.5 mm (0.787 - 0.807 inch)
Exhaust 16.5 - 17.0 mm (0.650 - 0.669 inch)






g) Ream the inside of valve guide with ST. Gently rotate the reamer clockwise while pressing it lightly into the valve guide. Return the reamer by also rotating it clockwise. After reaming, clean the valve guide to remove chips.

CAUTION:
^ Apply engine oil to the reamer when reaming.
^ If the inner surface of the valve guide is scored, the edge of the reamer should be slightly ground with an oil stone.
^ If the inner surface of the valve guide becomes shiny and the reamer does not produce chips, use a new reamer or repair the reamer.

ST 499767400 VALVE GUIDE REAMER
h) Recheck the contact condition between valve and valve seat after replacing valve guide.

INTAKE AND EXHAUST VALVE





a) Inspect the flange and stem of valve, and replace if damaged, worn, or deformed, or if dimension "H" is less than the specified limit.
H:
Intake
Standard 1.0 mm (0.039 inch)
Limit 0.6 mm (0.024 inch)
Exhaust
Standard 1.2 mm (0.047 inch)
Limit 0.6 mm (0.024 inch)
Valve overall length:
Intake 120.6 mm (4.75 inch)
Exhaust 121.7 mm (4.79 inch)
b) Put a small amount of grinding compound on the seat surface and lap the valve and seat surface. Install a new intake valve oil seal after lapping.