System Specifications
SPECIFICATIONSNOTE: STD: Standard I.D.: Inner Diameter O.D.: Outer Diameter OS: Oversize US: Undersize
TIMING BELT
CYLINDER HEAD AND CAMSHAFT
CYLINDER HEAD AND VALVE ASSEMBLY
CYLINDER BLOCK
CRANKSHAFT AND PISTON
ENGINE MOUNTING
FRONT EXHAUST PIPE
WATER PUMP
Crankshaft Pulley Bolt
Stage 1 44 Nm (4.5 kgf-m, 33 ft. lbs.)
Stage 2 127 Nm (13 kgf-m, 94.0 ft. lbs.)
Stage 3 angle 45 degrees or more
Front belt cover bolts:
Bolts (C) 5 Nm (0.5 kgf-m, 3.6 ft. lbs.)
Bolts (B) 5 Nm (0.5 kgf-m, 3.6 ft. lbs.)
Bolts (A) 5 Nm (0.5 kgf-m, 3.6 ft. lbs.)
Camshaft Sprocket bolt 98 Nm (10 kgf-m, 72.4 ft. lbs.)
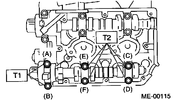
Camshaft bolts (tighten in alphabetical sequence in two stages).
T1 (a, b) 10 Nm (1.0 kgf-m, 7.2 ft. lbs.)
T2 (c,d, e, f) 20 Nm (2.0 kgf-m, 14.5 ft. lbs.)
Cylinder head bolts:
1) Apply a coat of engine oil to washers and bolt threads.
2) Tighten all bolts in sequence to 29 Nm (3.0 kgf-m, 22 ft. lbs.)
3) Retighten all bolts in sequence to 69 Nm (7.0 kgf-m, 51 ft. lbs.)
4) Back off all bolts by 180° first, then back them off a further 180°, in the reverse sequence they were tightened.
5) Tighten all bolts in sequence to 39 Nm (4.0 kgf-m, 29 ft. lbs.)
6) Tighten all bolts in sequence to 80 - 90°
7) Tighten all bolts in sequence a further 40 - 45°
NOTE: Do not tighten bolts for more than 45°.
8) Tighten bolt (A) and (B) a further 40 - 45°.
NOTE: Make sure the sum of retightening angles in previous steps has not exceeded 90°.
Connecting rod cap nuts
Cylinder block connecting bolts:
1) 10 mm bolts 15 Nm (1.5 kgf-m, 10.8 ft. lbs.)
2) 10 mm bolts 15 Nm (1.5 kgf-m, 10.8 ft. lbs.)
3) Side bolts (A) - (D) 90°
4) Side bolts (E)-(J) 90°
5) 8 mm and 6 mm:
(A)-(G) 25 Nm (2.5 kgf-m, 18.1 ft. lbs.)
(H) 6.4 Nm (0.65 kgf-m, 4.7 ft. lbs.)
Oil Pump 6.4 Nm (0.65 kgf-m, 4.7 ft. lbs.)
Intake Manifold 25 Nm (2.5 kgf-m, 18.1 ft-lb)