Curiosii for ever!: Car repair manuals for everyone.

Power Steering Line/Hose: Service and Repair

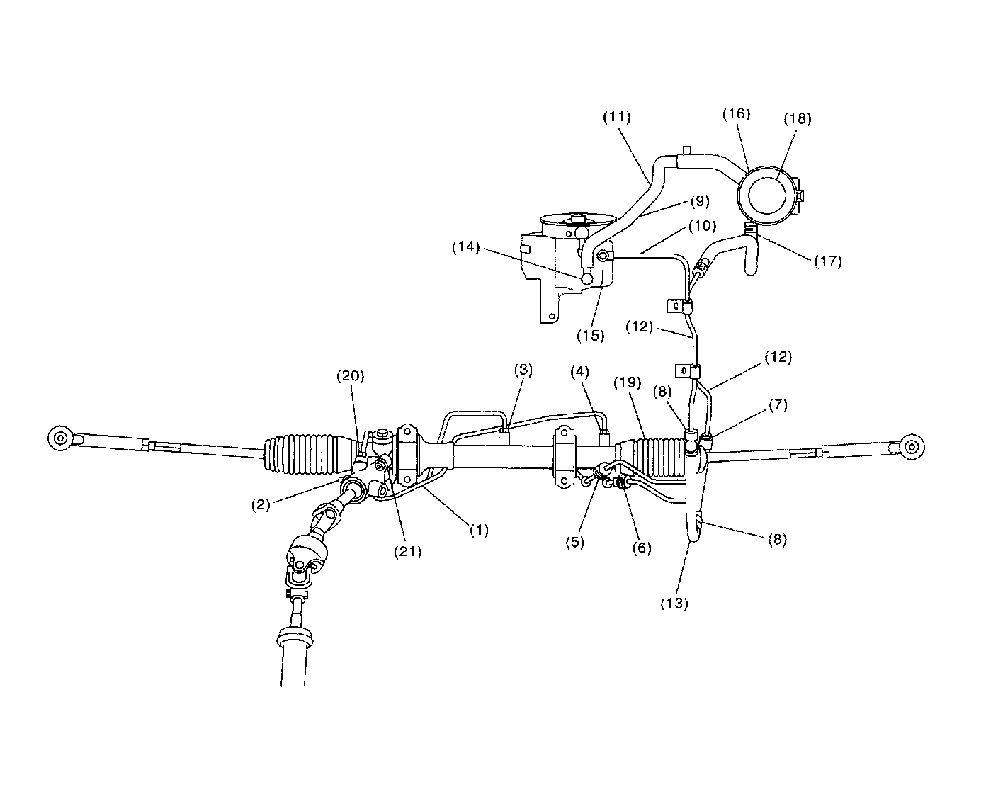
Pipe Assembly

REMOVAL
1. Disconnect the battery ground terminal.





2. Lift the vehicle and remove the jack-up plate.





3. Remove one pipe joint at the center of gearbox, and connect a vinyl hose to the pipe and joint. Discharge the fluid by turning steering wheel fully clockwise and counterclockwise. Discharge the fluid similarly from the other pipe.

CAUTION: Improper removal and installation of parts often causes fluid leak trouble. To prevent this, clean the surrounding portions before disassembly and reassembly, and pay special attention to keep dirt and other foreign matter from mating surfaces.





4. Remove the clamp E from pipes C and D.





5. Disconnect the pipe C D from the pipe (on the gearbox side).

CAUTION:
^ When disconnecting pipe C-D, use two wrenches to prevent deformities.
^ Be careful to keep pipe connections free from foreign matter.





6. Non-TURBO model:
1. Remove the air intake duct.
2. Remove the bolt A.
3. Disconnect the pipe C from the oil pump.
4. Disconnect the pipe D from the return hose.

CAUTION:
^ Do not allow fluid from the hose end to come into contact with pulley belt.
^ To prevent foreign matter from entering the hose and pipe, cover the open ends of them with a clean cloth.

7. TURBO model:
1. Remove the air intake duct, air cleaner upper cover and air intake boot.
2. Remove the two bolts fixing pipe C and D.





3. Remove the coolant filler tank.
4. Disconnect the pipe C from oil pump.





5. Disconnect the pipe D from the return hose.

CAUTION:
^ Do not allow fluid from the hose end to come into contact with pulley belt.
^ To prevent foreign matter from entering the hose and pipe, cover the open ends of them with a clean cloth.

INSTALLATION
1. Temporarily tighten the bolts fixing pipe C and D.

CAUTION: Visually check that hose between tank and pipe D is free from bending or twisting.





^ Non-TURBO model





^ TURBO model
1. Connect the pipe D to oil tank.
2. Install the pipe C to oil pump.

CAUTION: Use a new gasket.

Tightening torque: 39 Nm (4.0 kgf-m, 28.9 ft. lbs.)
3. Tighten bolts fixing pipe C and D.
Tightening torque: 13 Nm (1.3 kgf-m, 9.4 ft. lbs.)





2. Install the coolant filler tank. (Turbo model)
Tightening torque:
T1: 19 Nm (1.9 kgf-m, 13.7 ft. lbs.)
T2: 21 Nm (2.1 kgf-m, 15.2 ft. lbs.)





3. Temporarily connect the pipes C and D to the pipes (on the gearbox side).





4. Temporarily install the clamp E on the pipes C and D.

CAUTION: Ensure that the letter "8" on each clamp are diagonally opposite each other as shown in figure.

5. Tighten the clamp E firmly.
Tightening torque: 7.4 Nm (0.75 kgf-m, 5.4 ft. lbs.)
6. Tighten the joint nut.
Tightening torque: 15 Nm (1.5 kgf-m, 10.8 ft. lbs.)





7. Connect the pipes A and B to the four pipe joints of gearbox. Connect the upper pipe B first, and lower pipe A second.
Tightening torque: 13 Nm (1.3 kgf-m, 9.4 ft. lbs.)
8. Install the jack-up plate.
9. Install the air intake duct. (Non-TURBO model).
10. Install the air intake duct, air intake boot and air cleaner upper cover. (TURBO model)
11. Connect the battery ground terminal.





12. Feed the specified fluid.

NOTE: Never start the engine before feeding the fluid; otherwise vane pump might be seized up.

13. Finally check clearance between pipes and/or hoses, as shown above. If the clearance between cruise control pump and power steering hose is less than 10 mm (0.39 inch), proceed as follows:
1. Move the clamped section (A) (refer to figure above.) down to a point where the pipe is close to crossmember.

Pipe-to-crossmember clearance: 10 mm (0.39 inch), min.
2. Check that clearance between cruise control pump and power steering hose is at least 10 mm (0.39 inch). If it is not, bend section (B) down until a clearance of at least 10 mm (0.39 inch) is obtained.

INSPECTION





Check all disassembled parts for wear, damage or other abnormalities. Repair or replace faulty parts as required.

CAUTION: Although surface layer materials of rubber hoses have excellent weathering resistance, heat resistance and resistance for low temperature brittleness, they are likely to be damaged chemically by brake fluid, battery electrolyte, engine oil and automatic transmission fluid and their service lives are to be very shortened. It is very important to keep the hoses free from before mentioned fluids and to wipe out immediately when the hoses are adhered with the fluids.
Since resistances for heat or low temperature brittleness are gradually declining according to time accumulation of hot or cold conditions for the hoses and their service lives are shortening accordingly, it is necessary to perform careful inspection frequently when the vehicle is used in hot weather areas, cold weather area and/or a driving condition in which many steering operations are required in short time.





Particularly continuous work of relief valve over 5 seconds causes to reduce service lives of the hoses, the oil pump, the fluid, etc. due to over heat.
So, avoid to keep this kind of condition when servicing as well as driving.








CAUTION: It is likely that although one judges fluid leakage, there is actually no leakage. This is because the fluid spilt during the last maintenance was not completely wiped off. Be sure to wipe off spilt fluid thoroughly after maintenance.

NOTE: Fluid level is specified at optimum position (range) for ordinary use. Accordingly, if the vehicle is used often under hard conditions such as on very rough roads or in mountainous areas, fluid may bleed out from cap air vent hole. This is not a problem. If a customer complains strongly and is not likely to be satisfied with the leakage, lower the fluid level to the extent that fluid will not bleed out under the conditions described, and have the customer check the fluid level and its quality more frequency than usual.