Curiosii for ever!: Car repair manuals for everyone.

Installation

INSTALLATION





NOTE: Remove oil from the mating surface of bearing and cylinder block before installation. Also apply a thin coat of engine oil to crankshaft pins.

1) Position the crankshaft on #2 and #4 cylinder block.





2) Apply liquid gasket to the mating surface of #1 and #3 cylinder block, and position it on #2 and #4 cylinder block.
Liquid gasket: Part No. 004403007 Three Bond 1215 or equivalent

NOTE: Do not allow liquid gasket to jut into O-ring grooves, oil passages, bearing grooves. etc.





3) Tighten the 10 mm cylinder block connecting bolts in alphabetical sequence shown in the figure. (LH side)
Tightening torque: 15 Nm (1.5 kgf-m, 11.1 ft. lbs.)





4) Tighten the 10 mm cylinder block connecting bolts in alphabetical sequence shown in the figure. (RH side)
Tightening torque: 15 Nm (1.5 kgf-m, 11.1 ft. lbs.)





5) Further tighten LH side bolts (A) - (D) by 90° in alphabetical sequence.





6) Further tighten RH side bolts (E)-(J) by 90° in alphabetical sequence.





7) Tighten the 8 mm and 6 mm cylinder block connecting bolts in alphabetical sequence shown in the figure.
Tightening torque:
(A)-(G): 25 Nm (2.5 kgf-m, 18.1 ft. lbs.)
(H): 6.4 Nm (0.65 kgf-m, 4.7 ft. lbs.)





8) Install the rear oil seal using ST1 and ST2.
ST1 499597100 OIL SEAL GUIDE
ST2499587200OIL SEAL INSTALLER
9) Position the top ring gap at (A) or (B) in the figure.





10) Position the second ring gap at 180° on the reverse side for top ring gap.





11) Position the expander gap at (C) in the figure.





12) Position the lower rail gap at (D) in the figure.





NOTE: Align the lower rail stopper (F) to the lateral hole (E) on the piston.





13) Position the upper rail gap within (G) in the figure.

CAUTION:
^ Ensure ring gaps do not face the same direction.
^ Ensure ring gaps are not within the piston skirt area.





14) Install snap ring. Install snap rings in the piston holes located opposite service holes in cylinder block, when positioning all pistons in the corresponding cylinders.

NOTE: Use new snap rings.





CAUTION: Piston front mark faces towards the front of the engine.





15)Installing piston
a) Turn the cylinder block to face the #1 and #2 piston side upward.
b) Using the ST1, turn the crankshaft so that #1 and #2 connecting rods are set at bottom dead center.
ST1 499987500 CRANKSHAFT SOCKET





c) Apply a thin coat of engine oil to pistons and cylinders, and then insert the pistons in their cylinders using ST2.
ST2 498747300 PISTON GUIDE
16) Installing piston pin
a) Apply a thin coat of engine oil to the ST3 before insertion.





b) Insert the ST3 into service hole to align piston pin hole with connecting rod small end.
c) Apply a thin coat of engine oil to the piston pin, and then insert the piston pin into piston and connecting rod through service hole.





d) Install snap ring.

NOTE: Use new snap rings.

ST 499897200 PISTON SNAPPING PLIER





e) Apply liquid gasket around the service hole plug.
Liquid gasket: Part No. 004403007 Three Bond 1215 or equivalent





f) Install the service hole plug and gasket.

NOTE: Use a new gasket.





g) Turn the cylinder block to face the #3 and #4 piston side upward. Using the same procedures as used for #1 and #2 cylinders, install the pistons and piston pins.





17) Install the water pipe.
18) Install the baffle plate.
Tightening torque: 6.4 Nm (0.65 kgf-m, 4.7 ft. lbs.)
19) Install the oil strainer and O-ring.
Tightening torque: 10 Nm (1.0 kgf-m, 7 ft. lbs.)
20) Install the oil strainer stay.





21) Apply liquid gasket to the matching surfaces, and then install the oil pan.
Liquid gasket: Part No. 004403007 Three Bond 1215 or equivalent





22) Apply liquid gasket to the matching surfaces, and then install the oil separator cover.
Liquid gasket: Part No. 004403007 ThreeBond1215 or equivalent
23) Install the flywheel or drive plate.
To lock the crankshaft, use ST.
ST 498497100 CRANKSHAFT STOPPER
Tightening torque: 72 Nm (7.3 kgf-m, 52.8 ft. lbs.)





^ MT model





^ AT model

24) Install the housing cover.
25) Installation of oil pump





a) Discard the front oil seal after removal. Replace with a new one using the ST.
ST 499587100 OIL SEAL INSTALLER





b) Apply liquid gasket to the matching surface of oil pump.
Liquid gasket: Part No. 004403007





c) Apply a thin coat of engine oil to the inside of oil seal.
d) Install the oil pump on cylinder block. Be careful not to damage the oil seal during installation.
Tightening torque: 6.4 Nm (0.65 kgf-m, 4.7 ft. lbs.)

CAUTION:
^ Do not forget to install the O-ring and seal when installing oil pump.
^ Align flat surface of oil pump's inner rotor with crankshaft before installation.





26) Install the water pump and gasket.
Tightening torque:
First; 12 (1.2 kgf-m, 8. 7 ft. lbs.)
Second; 12 (1.2 kgf-m, 8.7 ft. lbs.)

CAUTION:
^ Be sure to use a new gasket.
^ When installing the water pump, tighten the bolts in two stages in alphabetical sequence as shown in the figure.

27) Install the water by-pass pipe for heater.
28) Install the oil filter using ST.
ST 498547000 OIL FILTER WRENCH
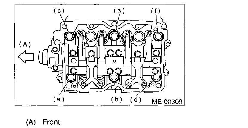
29) Tighten the cylinder head bolts.





a) Apply a thin coat of engine oil to the washers and bolt threads.
b) Tighten all bolts to 29 Nm (3.0 kgf-m, 22 ft. lbs.) in alphabetical sequence.
Then tighten all bolts to 69 Nm (7.0 kgf-m, 51 ft. lbs.) in alphabetical sequence.
c) Back off all bolts by 180° first; back them off by 180° again.
d) Tighten the bolts (a) and (b) to 34 Nm (3.5 kgf-m, 25 ft. lbs.).
e) Tighten bolts (c), (d), (e) and (f) to 15 Nm (1.5 kgf-m, 11 ft. lbs.).
f) Tighten all bolts by 80 to 90° in alphabetical sequence.

CAUTION: Do not tighten bolts more than 90°.

g) Further tighten all bolts by 80 to 90° in alphabetical sequence.

CAUTION: Ensure that the total "re-tightening angle" [in the former two steps], do not exceed 180°.

30) Install the oil level gauge guide, and then tighten the attaching bolt (left side only).
31) Install the rocker cover.
32) Install the crankshaft sprocket.
33) Install the camshaft sprocket.
34) Install the timing belt.
35) Install the timing belt cover.
36) Install the crankshaft pulley.
37) Install the generator and A/C compressor brackets on cylinder head.
38) Install the V-belt.
39) Install the intake manifold.