Curiosii for ever!
: Car repair manuals for everyone.
Home
>>
Subaru
>>
2004
>>
Forester F4-2.5L SOHC
>>
Repair and Diagnosis
>>
Powertrain Management
>>
Emission Control Systems
>>
Evaporative Emissions System
>>
Diagrams
Evaporative Emissions System: Diagrams
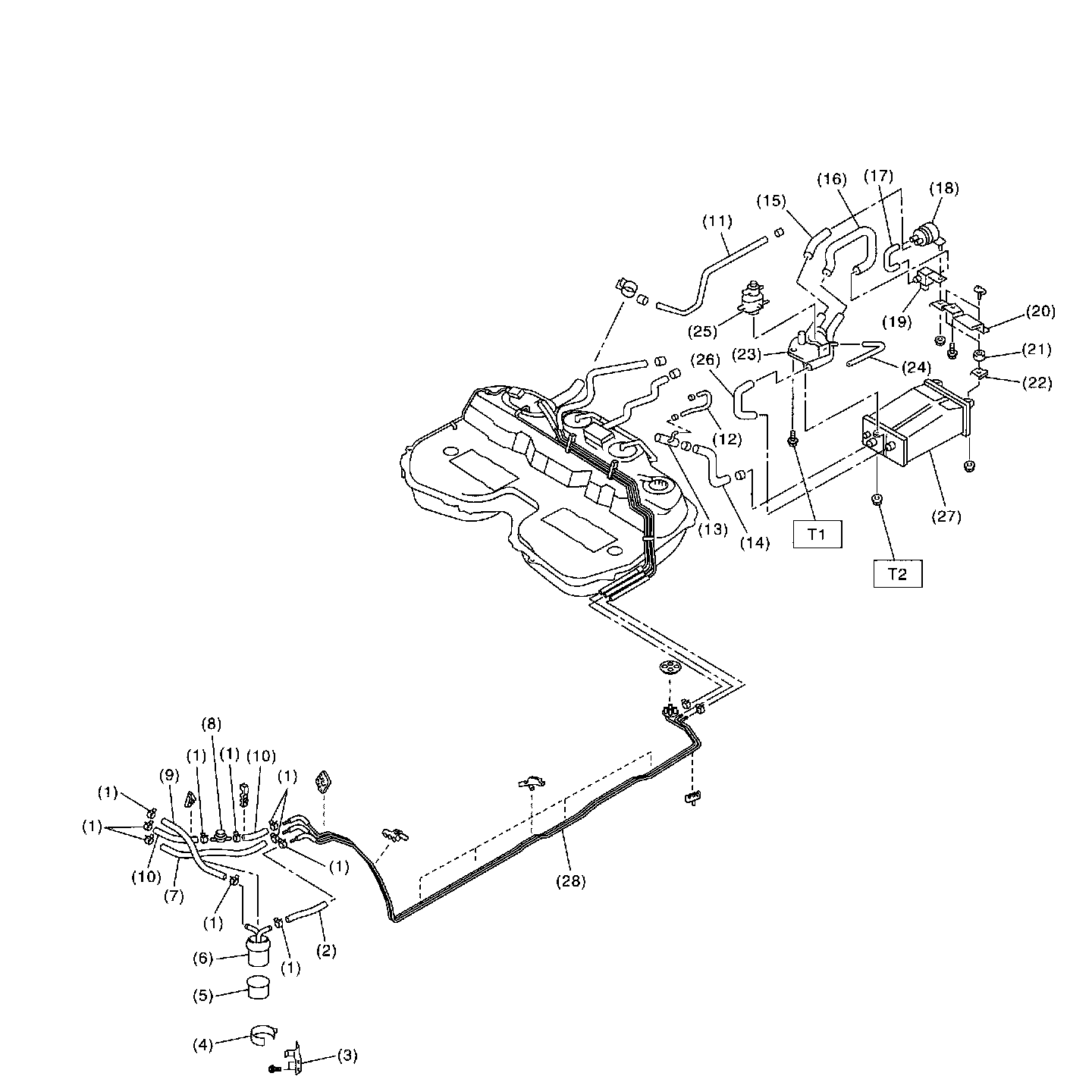
Fuel Line Part 1:
Fuel Line Part 2:
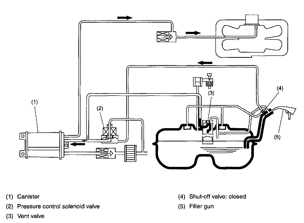
On-board Refueling Vapor Recovery (ORVR) System:
On-board Refueling Vapor Recovery (ORVR) System: