Curiosii for ever!: Car repair manuals for everyone.

Air Injection Control Valve: Description and Operation

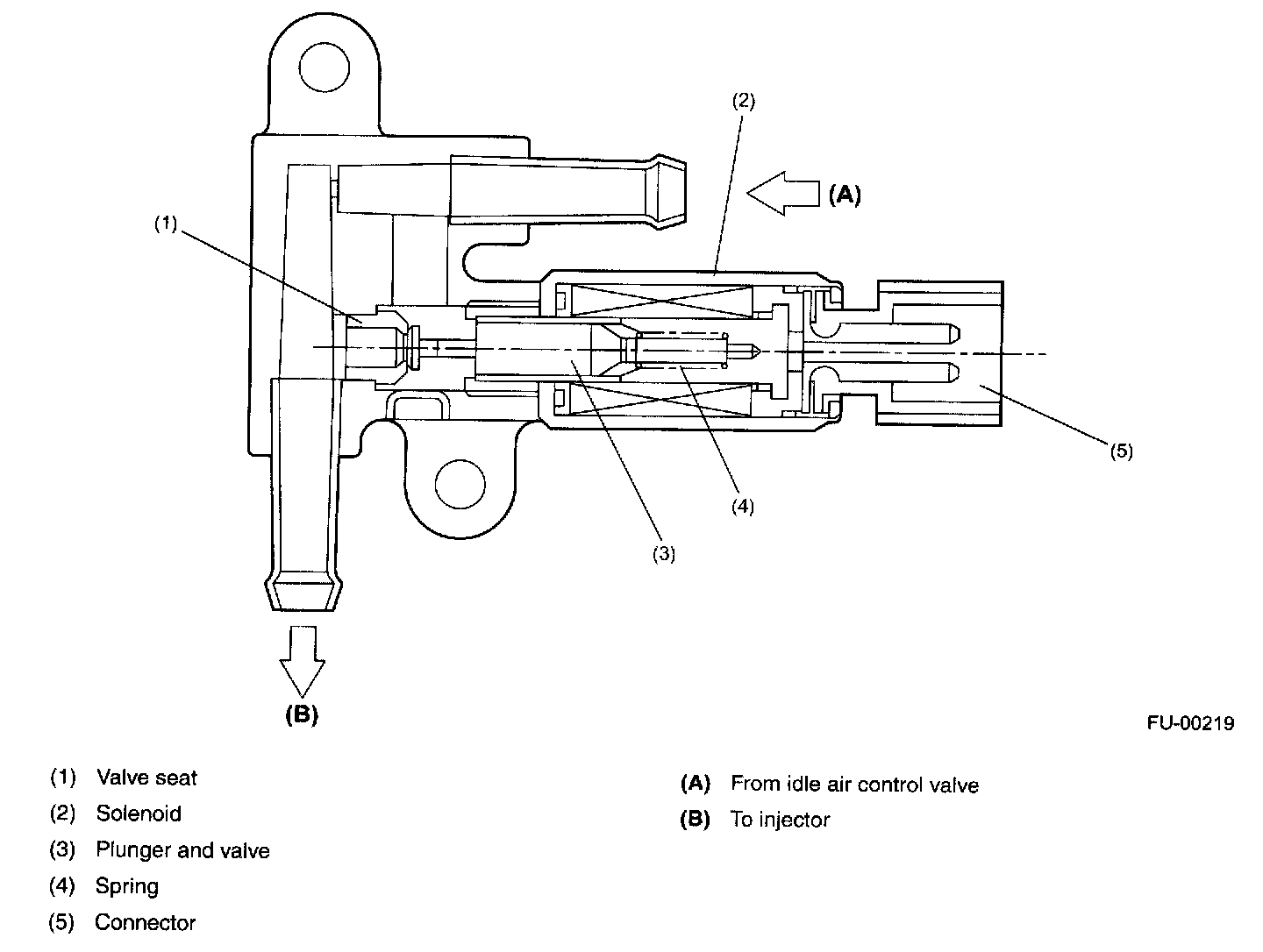
AIR ASSIST INJECTOR SOLENOID VALVE




The air assist injector solenoid valve is located in the piping between the throttle body and the injector and secured to the intake manifold. This solenoid valve is opened or closed by the signals from the ECM, adjusting the flow rate of air supplied to the injector.