Curiosii for ever!: Car repair manuals for everyone.

Control Panel

CONTROL PANEL

- The HVAC control panel is incorporated into the center panel.
- A rear window defogger switch is located in the control panel.

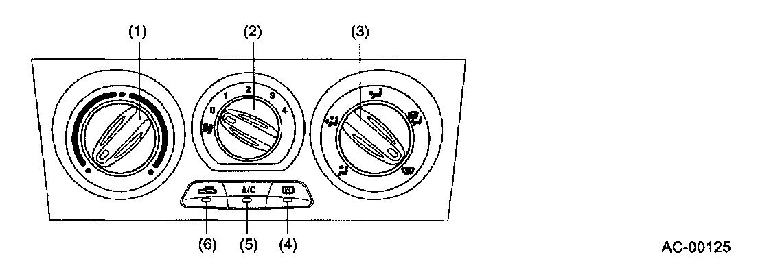
1. MANUAL AIR CONDITIONING SYSTEM




- The control panel uses three large-diameter, dial type switches for easy operation and good visual recognition.

1. Temperature control dial
This dial allows adjusting the temperature of air delivered through the ventilators.




2. Fan speed control dial
This dial allows turning on/off the blower and selecting any of the four blower speeds.




3. Air outlet switching dial
This dial allows selecting any of the five air flow modes.

4. Rear window defogger switch
This switch activates the rear defogger.
To prevent prolonged operation when the switch is left on, a timer keeps the defogger activated for 15 minutes after the switch is turned ON (the switch illuminates) and then turns it off automatically.

5. Air conditioning switch (vehicles with A/C)
This switch engages (the switch illuminates) and disengages the air conditioning compressor.

6. RECIRC switch
When this switch is turned ON (the switch illuminates) the system enters the cabin-air-recirculation mode, and when OFF the system is in the outside-air-introduction mode.

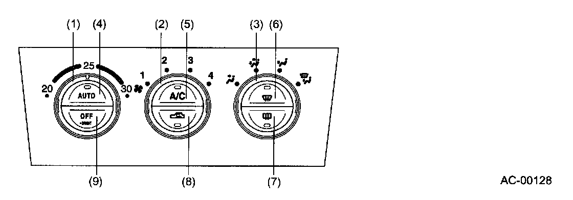
2. AUTOMATIC AIR CONDITIONING
- Servo motors are used for air outlet switching, temperature control, and air intake mode switching.




- The control panel uses three large-diameter, dial type switches for easy operation and good visual recognition.




1. Temperature control dial
This dial allows adjusting the temperature of air delivered through the ventilators within a range from 18 to 32 °C (65 to 85 °F) in 21 steps.

2. Fan speed control dial
In manual control, this dial allows selecting any of the four blower fan speeds.




3. Air outlet switching dial
In manual control, this dial allows selecting any of the four air flow modes.

4. AUTO switch
By operating this switch the system will operate in full automatic mode The air flow, air outlets switching, air intake mode switching, and the A/C compressor engagement/disengagement are automatically controlled.

5. Air conditioning switch
This switch engages (the switch illuminates) and disengages the air conditioning compressor.

6. Defroster switch
When this switch is turned ON (the switch illuminates) the system enters defroster mode When the switch is pressed again the system returns to the mode in which the system was operating before the defroster mode was selected.

7. Rear window defogger switch
This switch activates the rear defogger
To prevent prolonged operation when the switch is left on, a timer keeps the defogger activated for 15 minutes after the switch is turned ON (the switch illuminates) and then turns it off automatically.

8. RECIRC switch
When this switch is turned ON (the switch illuminates) the system enters the cabin-air-recirculation mode, and when OFF the system is in the outside-air-introduction mode.

9. OFF/BRIGHT switch
OFF all functions are deactivated (Air intake mode selection remains unchanged) BRIGHT When the switch is pressed longer than 1 second, the system enters bright mode and the dimming of the indicators when the position lights and headlights are ON will be cancelled.

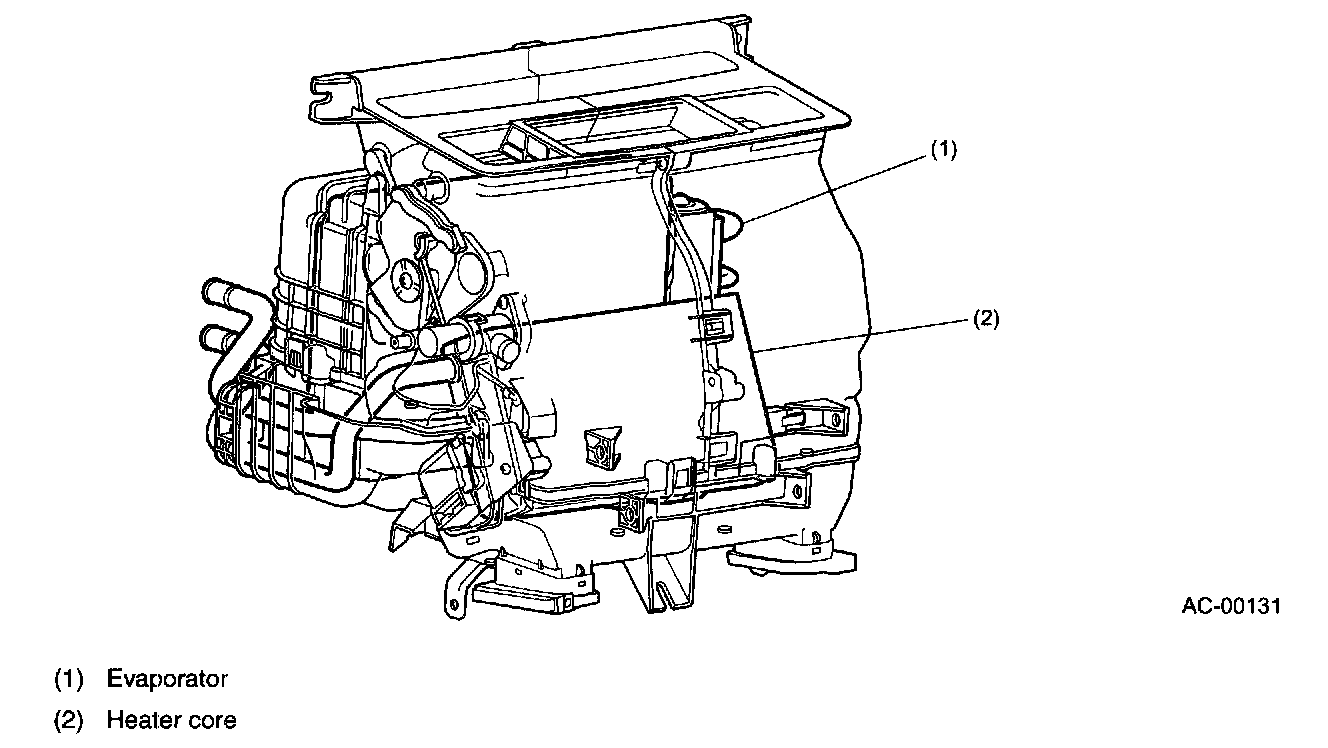
HEATER AND COOLING UNIT

- Having an evaporator core at the front and a heater core at the rear, this single unit combines both heating and cooling functions.
- The heater and cooling unit incorporates mode doors for creating different air flow modes and an air mix door for mixing heated air and cooled air.
- In the automatic air conditioning system, actuators switch each mode doors and the air mix door.




- In the manual air conditioning system, air flow mode switching doors and the air mixing door are moved by cables through corresponding linkages.

1. DESIGN FEATURES FOR EACH AIR FLOW MODE
1. Ventilation (VENT) mode
- The passage leading air from the evaporator to the ventilation outlet (VENT) is made straight to reduce air flow resistance.




- When the air temperature is necessary to be adjusted, heated air is blown at right angles against the flow of cool air from the evaporator. This allows the airs to mix thoroughly.




2. Foot/face (BILEVEL) mode
The air that has passed through the evaporator is divided into two directions. A part of the air passes through the heater core where the air is heated. The remaining air is unheated and flows directly to the air outlet, where the unheated air is mixed with the heated air from the heater core. The mixed air flows to the vent grille and heat grille.

3. Heating (HEAT) mode
- The air that has passed through the evaporator is heated at the heater core and flows through the foot door to the foot duct.




- To defog the windshield, the defroster door is also slightly open in heater mode operation and warm air will flow to the defroster duct too.

4. Defroster (DEF) mode
- The air from the evaporator passes through the heater core and the warmed air flows through the defroster door to the defroster (DEF) duct.




- The air passages toward the defroster (DEF) outlet is long enough to equalize the airflow rate at all outlets.

5. Defroster (DEF)/Heater (HEAT) mode
- The air from the evaporator flows through the heater core and the warmed air flows to the defroster (DEF) duct and foot duct to defog the windshield while sending warm air to the legs.




- The warm air that has flowed to the defroster duct will be delivered from the front defroster duct and side defroster duct to defog the windows.