Curiosii for ever!: Car repair manuals for everyone.

Disassembly and Assembly

Cylinder Block

DISASSEMBLY





1. Remove the connecting rod cap.
2. Remove the connecting rod bearing.

NOTE: Arrange the removed connecting rod, connecting rod cap and bearing in order to prevent confusion.

3. Remove the piston rings using the piston ring expander.
4. Remove the oil ring by hand.

NOTE: Arrange the removed piston rings in good order to prevent confusion.

5. Remove the circlip.

ASSEMBLY





1. Apply oil to the surfaces of the connecting rod bearings.
2. Install the connecting rod bearings on connecting rods and connecting rod caps.
3. Position each connecting rod with the marked side facing forward, and then install them.
4. Install the connecting rod cap with connecting rod nut.
Ensure the arrow on connecting rod cap faces the front during installation.

CAUTION:
^ Each connecting rod has its own mating cap. Make sure that they are assembled correctly by checking their matching number.
^ When tightening the connecting rod nuts, apply oil on the threads.

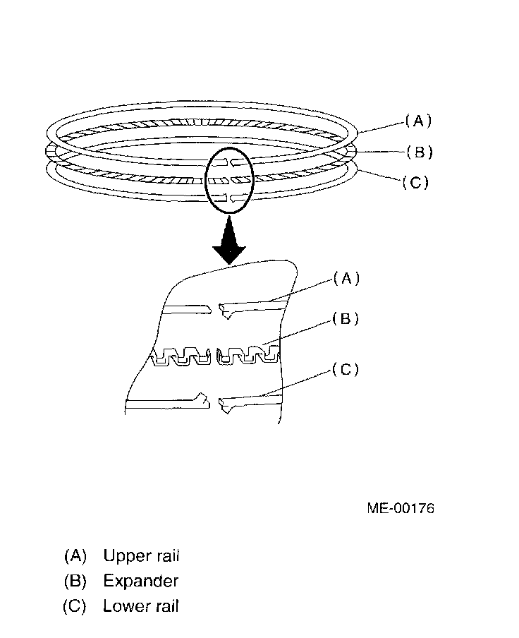
5. Install the expander, lower rail and upper rail in this order by hand. Then install the second ring and top ring with a piston ring expander.

INSPECTION
CYLINDER BLOCK
1. Visually check for cracks and damage. Especially, inspect the important parts by means of red lead check.
2. Check the oil passages for clogging.
3. Inspect the crankcase surface that mates with cylinder head for warping by using a straight edge, and correct by grinding if necessary.
Warping limit: 0.05 mm (0.0020 inch)
Grinding limit: 0.1 mm (0.004 inch)
Standard height of cylinder block: 201.0 mm (7.91 inch)

CYLINDER AND PISTON
1. The cylinder bore size is stamped on cylinder blocks front upper surface.

NOTE:
^ Measurement should be performed at a temperature 20°C (68°F).
^ Standard sized pistons are classified into two grades, "A" and "B". These grades should be used as a guide line in selecting a standard piston.





Standard diameter:
A: 99.505 - 99.515 mm (3.9175 - 3.9179 inch)
B: 99.495 - 99.505 mm (3.9171 - 3.9175 inch)
2. How to measure the inner diameter of each cylinder
Measure the inner diameter of each cylinder in both the thrust and piston pin directions at the heights shown in the figure, using a cylinder bore gauge.

NOTE: Measurement should be performed at a temperature 20°C (68°F).

Taper:
Standard 0.015 mm (0.0006 inch)
Limit 0.050 mm (0.0020 inch)





Out-of-roundness:
Standard 0.010 mm (0.0004 inch)
Limit 0.050 mm (0.0020 inch)
3. When the piston is to be replaced due to general or cylinder wear, determine a suitable sized piston by measuring the piston clearance.
4. How to measure the outer diameter of each piston Measure the outer diameter of each piston at the height shown in the figure. (Thrust direction)

NOTE: Measurement should be performed at a temperature of 20°C (68°F).





Piston grade point H: 37.0 mm (1.457 inch)
Piston outer diameter:
Standard
A: 99.485 - 99.495 mm (3.9167 - 3.9171 inch)
B: 99.475 - 99.485 mm (3.9163 - 3.9167 inch)
0.25 mm (0.0098 inch) oversize 99.725 - 99.735 mm (3.9262 - 3.9266 inch)
0.50 mm (0.0197 inch) oversize 99.975 - 99.985 mm (3.9360 - 3.9364 inch)
5. Calculate the clearance between cylinder and piston.

NOTE: Measurement should be performed at a temperature of 20°C (68°F).

Cylinder to piston clearance at 20°C (68°F):
Standard 0.010 - 0.030 mm (0.0004 - 0.0012 inch)
Limit 0.050 mm (0.0020 inch)
6. Boring and honing
a. If the value of taper, out-of-roundness, or cylinder-to-piston clearance measured exceeds the specified limit or if there is any damage on the cylinder wall, rebore it to use an oversize piston.

CAUTION: When any of the cylinders needs reboring, all other cylinders must be bored at the same time, and use oversize pistons. Do not perform boring on one cylinder only, nor use an oversize piston for one cylinder only.

b. If the cylinder inner diameter exceeds the limit after boring and honing, replace the crankcase.

NOTE: Immediately after reboring, the cylinder diameter may differ from its real diameter due to temperature rise. Thus, pay attention to this when measuring the cylinder diameter.

Limit of cylinder enlarging (boring): 0.5 mm (0.020 inch)

PISTON AND PISTON PIN
1. Check the pistons and piston pins for damage, cracks, and wear and the piston ring grooves for wear and damage. Replace if defective.
2. Measure the piston-to-cylinder clearance at each cylinder. If any of the clearances is not to specification, replace the piston or bore the cylinder to use an oversize piston.








3. Make the sure that piston pin can be inserted into piston pin hole with a thumb at 20°C (68°F). Replace if defective.
Standard clearance between piston pin and hole in piston:
Standard 0.004 - 0.008 mm (0.0002 - 0.0003 inch)
Limit 0.020 mm (0.0008 inch)





4. Check the circlip installation groove on piston for burr (A). If necessary, remove the burr from groove so that piston pin can lightly move.
5. Check the piston pin circlip for distortion, cracks and wear.

PISTON RING
1. If the piston ring is broken, damaged, or worn, or if its tension is insufficient, or when the piston is replaced, replace the piston ring with a new one of the same size as the piston.





CAUTION:
^ Marks are shown on the end of top and second rings. When installing the rings to piston, face these marks upward.
^ Oil ring is composed of upper rail, expander and lower rail. Be careful of the rail direction when installing oil ring to the piston.








2. Clean the piston ring groove and piston ring.
3. Squarely place the piston ring and oil ring in cylinder, and then measure the piston ring gap with a thickness gauge.








4. Measure the clearance between piston ring and piston ring groove with a thickness gauge.

CONNECTING ROD
1. Replace the connecting rod, if the large or small end thrust surface is damaged.





2. Check for bend or twist using a connecting rod aligner. Replace the connecting rod if the bend or twist exceeds the limit.
Limit of bend or twist per 100 mm (3.94 inch) in length: 0.10 mm (0.0039 inch)





3. Install the connecting rod fitted with bearing to crankshaft, and then measure the side clearance (thrust clearance). Replace the connecting rod if the side clearance exceeds the specified limit.
Connecting rod side clearance:
Standard 0.070 - 0.330 mm (0.0028 - 0.0130 inch)
Limit 0.4 mm (0.016 inch)
4. Inspect the connecting rod bearing for scar, peeling, seizure, melting, wear, etc.





5. Measure the oil clearance on individual connecting rod bearings by means of plastigauge. If any oil clearance is not within specification, replace the defective bearing with a new one of standard size or undersize as necessary. (See the table below.)
Connecting rod oil clearance:
Standard 0.012 - 0.038 mm (0.0005 - 0.0015 inch)
Limit 0.05 mm (0.0020 inch)








6. Inspect the bushing at connecting rod small end, and replace if worn or damaged. Also measure the piston pin clearance at connecting rod small end.
Clearance between piston pin and bushing:
Standard 0 - 0.022 mm (0 - 0.0009 inch)
Limit 0.030 mm (0.0012 inch)
7. Replacement procedure is as follows.
a. Remove the bushing from connecting rod with ST and press.





b. Press the bushing with ST after applying oil on the periphery of bushing.
ST 499037100 CONNECTING ROD BUSHING REMOVER AND INSTALLER
c. Make two 3 mm (0.12 inch) holes in bushing. Ream the inside of bushing.
d. After the completion of reaming, clean the bushing to remove chips.

CRANKSHAFT AND CRANKSHAFT BEARING
1. Clean the crankshaft completely and check for cracks by means of red lead check etc., and replace if defective.
2. Measure the crankshaft bend, and correct or replace if it exceeds the limit.





NOTE: If a suitable V-block is not available, install the #1 and #5 crankshaft bearing on cylinder block, position the crankshaft on these bearings and measure the crankshaft bend using a dial gauge.

Crankshaft bend limit: 0.035 mm (0.0014 inch)








3. Inspect the crank journal and crank pin for wear. If they are not within the specifications, replace the bearing with a suitable (undersize) one, and then replace or recondition the crankshaft as necessary. When grinding the crank journal or crank pin, finish them to specified dimensions according to the undersize bearing to be used.
Crank pin and crank journal:
Out-of-roundness 0.020 mm (0.0008 inch) or less
Taper limit 0.07 mm (0.0028 inch)
Grinding limit 0.250 mm (0.0098 inch)
O.D.: Outer Diameter





4. Measure the thrust clearance of crankshaft at center bearing. If the clearance exceeds the limit, replace bearing.
Crankshaft thrust clearance:
Standard 0.030 - 0.115 mm (0.0012 - 0.0045 inch)
Limit 0.25 mm (0.0098 inch)
5. Inspect the individual crankshaft bearings for signs of flaking, seizure, melting, and wear.





6. Measure the oil clearance on each crankshaft bearing by means of plastigauge. If the measurement is not within the specification, replace the defective bearing with an undersize one, and then replace or recondition the crankshaft as necessary.