Curiosii for ever!: Car repair manuals for everyone.

Cruise Control: Description and Operation

Cruise Control

OPERATION

- The cruise control system automatically controls the vehicle speed. It allows the vehicle to run at a constant speed without need for the driver to keep the accelerator pedal depressed.
- When the driver has activated the system and made a desired speed setting, the cruise control module compares the actual vehicle speed detected by the speed sensor (MT) or transmission control module (AT) with the preset speed in the memory, then generates a signal according to the difference between the two speeds.

This signal is transmitted to the actuator located in the engine compartment. The actuator operates the throttle cam as necessary to keep the preset vehicle speed.




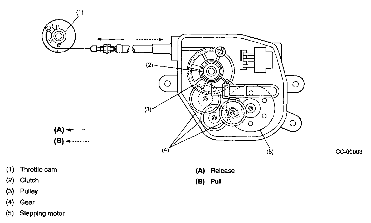
CONTROL AND OPERATION

ACTUATOR




In response to a signal from the cruise control module, the clutch in the actuator is turned ON. This causes the stepping motor to operate, pulling the throttle cam for speed control.

MAIN SWITCH

- The main switch is the main power supply switch of the cruise control module. The main switch has a built-in night illumination light.




- When the ignition switch is placed in the OFF position with the main switch ON, the main switch is also turned OFF. Even if the ignition switch is turned ON again, the main switch will stay in the OFF state.

COMMAND SWITCH (CRUISE CONTROL LEVER)




- When the vehicle is driven with the cruise control activated, the command switch controls its operation. It inputs SET/COAST signal, ACCEL/RESUME signal or CANCEL signal to the cruise control module.
- The command switch is located on the right side of the steering wheel, so the driver can operate it without releasing hands from the steering wheel.
- The command switch is a self-returning lever type.

1. RESUME/ACCEL AND SET/COAST SWITCH
Each switch contact is held closed as long as the lever is kept pressed in the relevant direction and resulting current is applied as a signal to the control module.

2. CANCEL SWITCH
All the switch contacts are closed as long as the lever is pulled toward the CANCEL position (toward the driver). This causes the RESUME/ACCEL and SET/COAST ON signals to be sent to the control module simultaneously.

CANCEL SIGNALS

The cancel signal deactivates the cruise control function. Operating any of the following switches results in generation of the cancel signal. On receiving the signal, the cruise control module cancels the cruise control function.

- Stop light switch
- Brake switch
- Clutch switch (MT model)
- Inhibitor switch (AT model)
- Main switch
- Command switch (CANCEL position)

VEHICLE SPEED SENSOR
Vehicle speed sensor is installed on the transmission, and sends signal to the cruise control module which uses it in controlling the cruise control function (MT model).

ENGINE THROTTLE




- The throttle body is equipped with two throttle cams. One is used during acceleration and the other during cruising in order to open or close the throttle valve.
- These cams operate independently of each other. In other words, when one cam operates, the other may not.

CONTROL MODULE

- Based on signals from the related switches and sensors, the cruise control module controls all the following control functions:

Constant speed control; speed setting control; deceleration control; acceleration control; resume control; manual cancel control; low speed limit control; stepping motor control; cruise control




- The control module (1) is located behind the glove compartment.

FAIL-SAFE FUNCTION

The cruise control system has a fail-safe function that cancels the cruise control operation when any of the following conditions occurs.

1. CONFLICT BETWEEN CRUISE CONTROL SWITCHES AND CANCELLATION SIGNAL GENERATING SWITCHES
1. The cruise control system is deactivated if any of the cruise control switches (SET/COAST, RESUME/ACCEL, and CANCEL switches) is turned ON while any of the cancellation signal generating switches (brake, stop lamp, clutch, and inhibitor switches) is being operated. The system is re-activated when the cruise control switch is turned OFF and then turn ON again after the cancellation signal generating switch has been returned to its released position.
2. The cruise control system becomes deactivated if the ignition switch is turned ON with any of the cruise control switches (including the main switch) in the ON position. The system deactivating function is retained until the ignition switch is turned OFF.

2. ABNORMALITIES IN ELECTRIC CIRCUITS
The cruise control system is deactivated and the set speed is also canceled if any of the following abnormalities occurs in the system's electric circuits.

The system deactivation function is retained until the ignition switch is turned OFF.

1. The stepping motor terminal is grounded; or the stepping motor drive circuit is broken due to a short- or open-circuit.
2. The stepping motor clutch drive circuit is shorted.
3. Vehicle speed variation in a 350 ms period exceeds ±10 km/h.
4. Fusion has occurred in an internal relay and is detected while the vehicle is running with the cruise control deactivated.
5. The cruise control module becomes inoperative or its operation is faulty.
6. There is discrepancy between the values stored in the two RAMs of the control module.
7. An abnormality is detected as a result of the self-diagnosis performed after turning ON of the ignition switch.

3. ABNORMALITIES IN STEPPING MOTOR
The cruise control system is deactivated if either of the following abnormalities occurs in the stepping motor.

1. The stepping motor does not operate properly.
2. The stepping motor is energized for unduly long period and too frequently.

When the system is deactivated, it cannot be reactivated for 2 - 20 minutes after detection of the abnormal condition.