Curiosii for ever!: Car repair manuals for everyone.

Cylinder Block Assembly: Service and Repair

REMOVAL

NOTE: Before conducting this procedure, drain the engine oil completely if applicable.

1. Remove the intake manifold.
2. Remove the V-belt.
3. Remove the crankshaft pulley.
4. Remove the timing belt cover.
5. Remove the timing belt assembly.
6. Remove the camshaft sprocket.
7. Remove the crankshaft sprocket.
8. Remove the generator and A/C compressor with their brackets.
9. Remove the cylinder head assembly.
10. Remove the clutch disc and cover.
11. Remove the flywheel. (MT model)





12. Remove drive plate. (AT model)
Using ST, lock crankshaft.
ST 498497100 CRANKSHAFT STOPPER
13. Remove the oil separator cover.
14. Remove the water by-pass pipe for heater.
15. Remove the oil filter.
ST 18332AA000 OIL FILTER WRENCH (Outer diameter: 68 mm (2.68 inch))
ST 18332AA010 OIL FILTER WRENCH (Outer diameter: 65 mm (2.56 inch))





16. Remove the oil cooler.
17. Removal of oil pan:
a. Turn the cylinder block with #2 and #4 piston sides facing upward.
b. Remove the bolts which secure oil pan to cylinder block.
c. Insert an oil pan cutter blade between cylinder block-to-oil pan clearance, and then remove the oil pan.
Do not use a screwdriver or similar tool in place of oil pan cutter.
18. Remove the oil strainer stay.
19. Remove the oil strainer.
20. Remove the baffle plate.
21. Remove the water pipes.
22. Remove the water pump.








23. Remove the oil pump from cylinder block.
Use a flat-bladed screwdriver as shown in the figure when removing the oil pump.

NOTE: Be careful not to scratch the mating surface of cylinder block and oil pump.





24. Remove the service hole cover and service hole plugs using hexagon wrench [14 mm (0.55 inch)].





25. Rotate the crankshaft to bring #1 and #2 pistons to bottom dead center position, and then remove the piston circlip through service hole of #1 and #2 cylinders.





26. Draw out the piston pin from #1 and #2 pistons using ST.
ST 499097700 PISTON PIN REMOVER

NOTE: Be careful not to confuse the original combination of piston, piston pin and cylinder.

27. Similarly remove the piston pins from #3 and #4 pistons.
28. Remove the bolts which connect the cylinder block on the side of #2 and #4 cylinders.
29. Back off the bolts which connect the cylinder block on the side of #1 and #3 cylinders two or three turns.
30. Set up the cylinder block so that #1 and #3 cylinders are on the upper side, then remove the cylinder block connecting bolts.





31. Separate the cylinder blocks (LH) and (RH).

NOTE: When separating the cylinder block, do not allow the connecting rod to fall and damage the cylinder block.

32. Remove the rear oil seal.
33. Remove the crankshaft together with connecting rod.
34. Remove the crankshaft bearings from cylinder block using a hammer handle.

NOTE: Do not confuse the combination of crankshaft bearings. Press the bearing at the end opposite to locking lip.

35. Draw out each piston from cylinder block using a wooden bar or hammer handle.

NOTE: Do not confuse the combination of piston and cylinder.

INSTALLATION





1. Remove oil in the mating surface of bearing and cylinder block before installation. Also apply a coat of engine oil to crankshaft pins.
2. Position the crankshaft on #2 and #4 cylinder block.





3. Apply fluid packing to the mating surface of #1 and #3 cylinder block, and position it on #2 and #4 cylinder block.
Fluid packing: Part No. 004403007 THREE BOND 1215 or equivalent

NOTE: Do not allow fluid packing to jut into O-ring grooves, oil passages, bearing grooves, etc.

4. Apply engine oil to washers and thread of bolts.





5. Tighten the 10 mm cylinder block connecting bolts in alphabetical sequence shown in the figure. (LH side)





6. Tighten the 10 mm cylinder block connecting bolts in alphabetical sequence shown in the figure. (RH side)





7. Further tighten the LH side bolts (A - D) in alphabetical sequence.





8. Further tighten the RH side bolts (E - J) in alphabetical sequence.





9. Further tighten the LH side bolts (A - D) by 90° in alphabetical sequence.





10. Further tighten the RH side bolts (E - J) by 90° in alphabetical sequence.





11. Tighten the 8 mm and 6 mm cylinder block connecting bolts in alphabetical sequence shown in the figure.





12. Install the rear oil seal using ST1 and ST2.
ST1 499597100 CRANKSHAFT OIL SEAL GUIDE
ST2 499587200 CRANKSHAFT OIL SEAL INSTALLER
13. Position the top ring gap at (A) or (B) in the figure.





14. Position the second ring gap at 180° on the reverse side for the top ring gap.





15. Position the upper rail gap at (C) in the figure.





16. Align upper rail spin stopper (D) with piston side surface hole (E).





17. Position the expander gap at (F) in the figure.





18. Position the lower rail gap at (G) in the figure.

NOTE:
^ Ensure ring gaps do not face the same direction.
^ Ensure ring gaps are not within the piston skirt area.








19. Install the circlip. Install the circlips in piston holes located opposite of service holes in cylinder block, when positioning all pistons in the corresponding cylinders.

NOTE: Use new circlips.

20. Installing the piston:
a. Turn the cylinder block so that #1 and #2 cylinders face upward.
b. Using the ST1, turn the crankshaft so that #1 and #2 connecting rods are set at bottom dead center.
ST1 499987500 CRANKSHAFT SOCKET








c. Apply a coat of engine oil to the pistons and cylinders and insert pistons in their cylinders using ST2.
ST2 498747300 PISTON GUIDE

NOTE: Piston front mark faces towards the front of the engine.

21. Installing piston pin:





a. Apply a coat of engine oil to ST3, and then insert the ST3 into service hole to align piston pin hole with connecting rod small end.
ST3 499017100 PISTON PIN GUIDE





b. Apply a coat of engine oil to the piston pin and insert piston pin into piston and connecting rod through service hole.
c. Using the ST, install the circlip.

NOTE: Use new circlips.





d. Apply fluid packing around the service hole plug.








e. Install the service hole plug and gasket.

NOTE: Use a new gasket.

f. Turn the cylinder block so that #3 and #4 cylinders face upward. Using the same procedures as used for #1 and #2 cylinders, install the pistons and piston pins.

22. Install the water pipe.
23. Install the baffle plate.
Tightening torque: 6.4 Nm (0.65 kgf-cm, 4.7 ft. lbs.)
24. Install the oil strainer and O-ring
Tightening torque: 10 Nm (1.0 kgf-cm, 7 ft. lbs.)
25. Install the oil strainer stay.





26. Apply fluid packing to the matching surfaces, and then install the oil pan.





27. Apply fluid packing to the matching surfaces, and then install the oil separator cover.
28. Install the flywheel.
29. Install the clutch disc and cover.
30. Installation of oil pump:





a. Discard the front oil seal after removal. Replace with a new one using the ST.
ST 499587100 OIL SEAL INSTALLER





b. Apply fluid packing to the matching surface of oil pump.





c. Apply a coat of engine oil to the inside of the oil seal.
d. Install the oil pump on cylinder block. Be careful not to damage the oil seal during installation.
Tightening torque: 6.4 Nm (0.65 kgf-cm, 4.7 ft. lbs.)

NOTE:
^ Do not forget to install the O-ring and seal when installing the oil pump.
^ Align the flat surface of oil pump's inner rotor with crankshaft before installation.





31. Install the water pump and gasket.
Tightening torque:
First; 12 Nm (1.2 kgf-cm, 8.7 ft. lbs.)
Second; 12 Nm (1.2 kgf-cm, 8.7 ft. lbs.)

NOTE:
^ Be sure to use a new gasket.
^ When installing the water pump, tighten the bolts in two stages in alphabetical sequence as shown in the figure.

32. Install the water by-pass pipe for heater.





33. Install the oil cooler.
34. Install the oil filter using ST.
ST 18332AA000 OIL FILTER WRENCH (Outer diameter: 68 mm)
ST 18332AA010 OIL FILTER WRENCH (Outer diameter: 65 mm)
35. Install the water by-pass pipe between oil cooler and water pump.
36. Install the water pipe.

NOTE: Always use a new O-ring.

37. Install the cylinder head assembly.
38. Install the oil level gauge guide and tighten the attaching bolt (LH side).
39. Install the rocker cover.
40. Install the crankshaft sprocket.
41. Install the camshaft sprocket.
42. Install the timing belt assembly.
43. Install the timing belt cover.
44. Install the crankshaft pulley.
45. Install the generator and A/C compressor brackets on cylinder head.
46. Install the V-belt.
47. Install the intake manifold.

DISASSEMBLY





1. Remove the connecting rod cap.
2. Remove the connecting rod bearing.

NOTE: Arrange the removed connecting rod, connecting rod cap and bearing in order to prevent confusion.

3. Remove the piston rings using the piston ring expander.
4. Remove the oil ring by hand.

NOTE: Arrange the removed piston rings in proper order to prevent confusion.

5. Remove the circlip.

ASSEMBLY





1. Apply oil to the surfaces of the connecting rod bearings. Install the connecting rod bearings on connecting rods and connecting rod caps.
2. Install the connecting rod on crankshaft.

NOTE: Position each connecting rod with the side marked facing forward.

3. Install the connecting rod cap with connecting rod nut.
Ensure the arrow on connecting rod cap faces the front during installation.

NOTE:
^ Each connecting rod has its own mating cap. Make sure that they are assembled correctly by checking their matching number.
^ When tightening the connecting rod nuts, apply oil on the threads.

4. Install the oil ring spacer, upper rail and lower rail in this order by hand. Then install the second ring and top ring with a piston ring expander.

INSPECTION
CYLINDER BLOCK
1. Visually check for cracks and damage. Especially, inspect the important parts by means of red lead check.
2. Check the oil passages for clogging.
3. Inspect the crankcase surface that mates with cylinder head for warping by using a straight edge, and correct by grinding if necessary.
Warping limit. 0.05 mm (0.0020 inch)
Grinding limit. 0.1 mm (0.004 inch)
Standard height of cylinder block. 201.0 mm (7.91 inch)

CYLINDER AND PISTON





1. The cylinder bore size is stamped on cylinder block's front upper surface.

NOTE: Measurement should be performed at a temperature of 20°C (68°F).

NOTE: Standard sized pistons are classified into two grades, "A" and "B". These grades should be used as a guide line in selecting a standard piston.





2. How to measure the inner diameter of each cylinder:
Measure the inner diameter of each cylinder in both the thrust and piston pin directions at the heights shown in the figure, using a cylinder bore gauge.

NOTE: Measurement should be performed at a temperature of 20°C (68°F).

3. When the piston is to be replaced due to general or cylinder wear, determine a suitable sized piston by measuring the piston clearance.





4. How to measure the outer diameter of each piston:
Measure the outer diameter of each piston at the height shown in the figure. (Thrust direction)

NOTE: Measurement should be performed at a temperature of 20°C (68°F).

5. Calculate the clearance between cylinder and piston.

NOTE: Measurement should be performed at a temperature of 20°C (68°F).

Cylinder to piston clearance at 20°C (68°F)
Standard -0.010 - 0.010 mm (-0.0004 - 0.0004 inch)
Limit 0.030 mm (0.0012 inch)

6. Boring and honing:
a. If the value of taper, out-of-roundness, or cylinder-to-piston clearance measured exceeds the specified limit or if there is any damage on the cylinder wall, reboring it to use an oversize piston.

CAUTION: When any of the cylinders needs reboring, all other cylinders must be bored at the same time, and use oversize pistons. Do not perform boring on one cylinder only, nor use an oversize piston for one cylinder only.

b. If the cylinder inner diameter exceeds the limit after boring and honing, replace the crankcase.

NOTE: Immediately after reboring, the cylinder diameter may differ from its real diameter due to temperature rise. Thus, pay attention to this when measuring the cylinder diameter.

Limit of cylinder enlarging (boring): 0.5 mm (0.020 inch)

PISTON AND PISTON PIN
1. Check the pistons and piston pins for damage, cracks, and wear and the piston ring grooves for wear and damage. Replace if defective.
2. Measure the piston-to-cylinder clearance at each cylinder. If any of the clearances is not within specification, replace the piston or bore the cylinder to use an oversize piston.








3. Make sure that the piston pin can be inserted into the piston pin hole with a thumb at 20°C (68°F). Replace if defective.





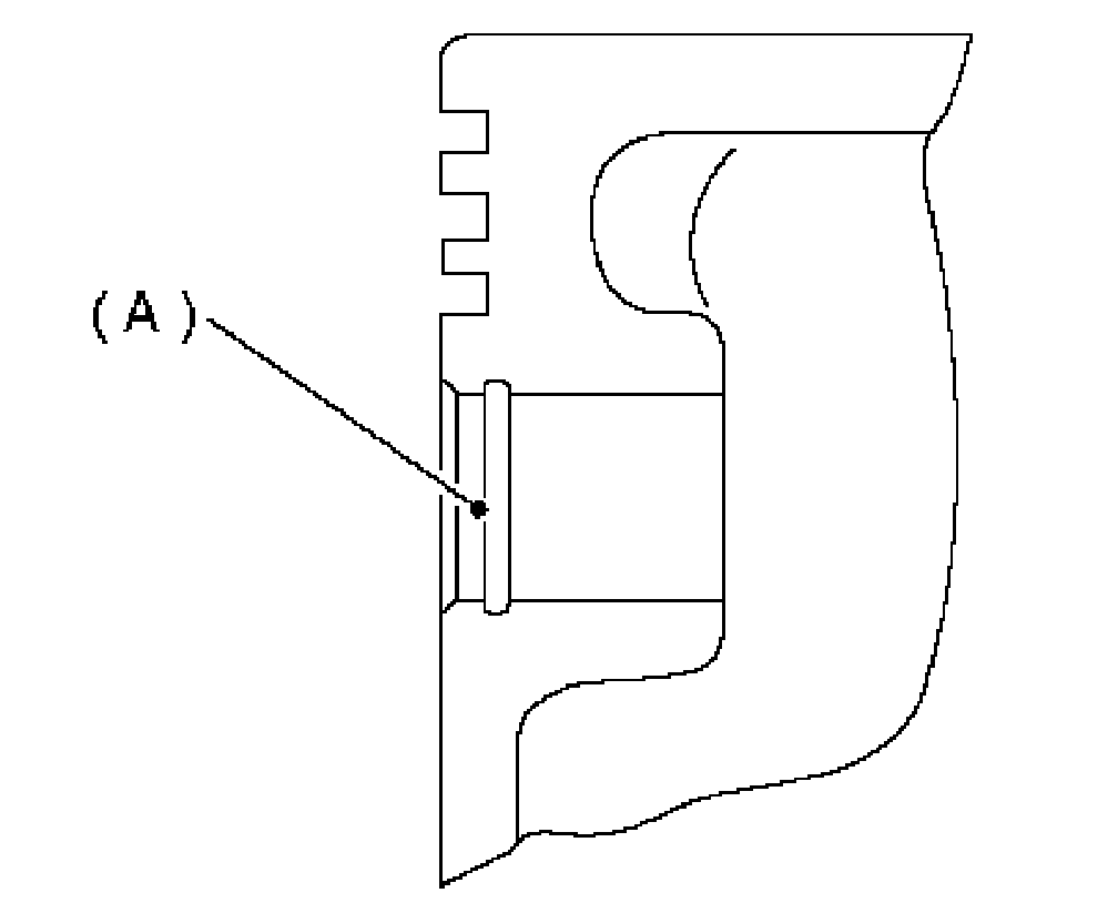
4. Check the circlip installation groove on piston for burr (A). If necessary, remove the burr from groove so that the piston pin can lightly move.
5. Check the piston pin circlip for distortion, cracks and wear.

PISTON RING





1. If the piston ring is broken, damaged, or worn, or if its tension is insufficient, or when the piston is replaced, replace the piston ring with a new one of the same size as the piston.

NOTE:
^ Marks are shown on the end of top and second rings. When installing the rings to piston, face this mark upward.
^ Oil ring consists of upper rail, expander and lower rail. When installing on piston, be careful of each rail's direction.








2. Squarely place the piston ring and oil ring in cylinder, and then measure the piston ring gap with a thickness gauge.








3. Measure the clearance between piston ring and piston ring groove with a thickness gauge.

NOTE: Before measuring the clearance, clean the piston ring groove and piston ring.

CONNECTING ROD
1. Replace the connecting rod, if the large or small end thrust surface is damaged.





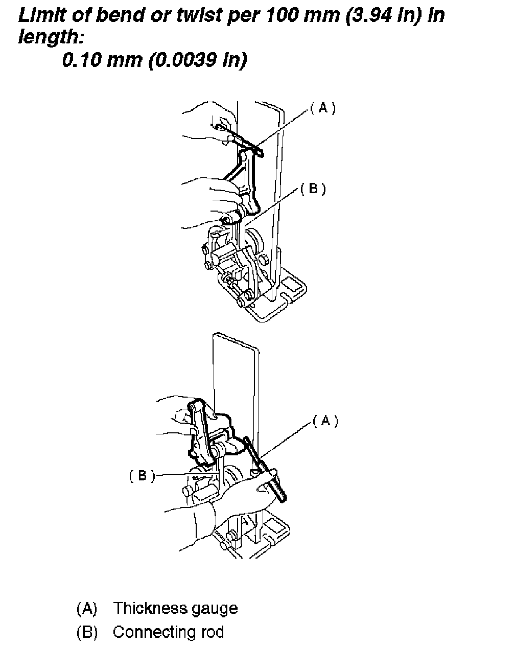
2. Check for bend or twist using a connecting rod aligner. Replace the connecting rod if the bend or twist exceeds the limit.





3. Install the connecting rod fitted with bearing to crankshaft, and then measure the side clearance (thrust clearance). Replace the connecting rod if the side clearance exceeds the specified limit.
4. Inspect the connecting rod bearing for scar, peeling, seizure, melting, wear, etc.





5. Measure the oil clearance on individual connecting rod bearings by means of plastigauge. If any oil clearance is not within specification, replace the defective bearing with a new one of standard size or undersize as necessary.








6. Inspect the bushing at connecting rod small end, and replace if worn or damaged. Also measure the piston pin clearance at connecting rod small end.
7. Replacement procedure is as follows:
a. Remove the bushing from connecting rod with ST and press.





b. Press the bushing with ST after applying oil on the periphery of bushing.
ST 499037100 CONNECTING ROD BUSHING REMOVER AND INSTALLER
c. Make two 3 mm (0.12 inch) holes in bushing. Ream the inside of bushing.
d. After the completion of reaming, clean the bushing to remove chips.

CRANKSHAFT AND CRANKSHAFT BEARING
1. Clean the crankshaft completely and check for cracks by means of red lead check etc., and replace if defective.





2. Measure the crankshaft bend, and correct or replace if it exceeds the limit.

NOTE: If a suitable V-block is not available, install the #1 and #5 crankshaft bearing on cylinder block, position the crankshaft on these bearings and measure the crankshaft bend using a dial gauge.








3. Inspect the crank journal and crank pin for wear. If they are not within the specifications, replace the bearing with a suitable (undersize) one, and then replace or recondition the crankshaft as necessary. When grinding the crank journal or crank pin, finish them to specified dimensions according to the undersize bearing to be used.





4. Measure the thrust clearance of crankshaft at center bearing. If the clearance exceeds the limit, replace the bearing.
5. Inspect individual crankshaft bearings for signs of flaking, seizure, melting, and wear.





6. Measure the oil clearance on each crankshaft bearing by means of plastigauge. If the measurement is not within the specification, replace the defective bearing with an undersize one, and replace or recondition the crankshaft as necessary.