Curiosii for ever!: Car repair manuals for everyone.

EGR Temperature Sensor: Service and Repair

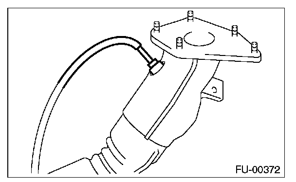
Exhaust Temperature Sensor

REMOVAL




1. Disconnect the ground cable from battery.
2. Remove the joint pipe.
3. Apply SUBARU CRC or its equivalent to the threaded portion of exhaust temperature sensor, and leave it for one minute or more.

SUBARU CRC (Part No. 004301003)




4. Remove the exhaust temperature sensor.

CAUTION: When removing the exhaust temperature sensor, wait until joint pipe cools, otherwise it will damage exhaust pipe.

INSTALLATION

1. Before installing exhaust temperature sensor, apply anti-seize compound only to the threaded portion of exhaust temperature sensor to make the next removal easier.

CAUTION: Never apply anti-seize compound to protector of exhaust temperature sensor.

Anti-seize compound: SS-30 by JET LUBE




2. Install the exhaust temperature sensor.

NOTE: Align the harness (A) of exhaust temperature sensor to the marking (B) of joint pipe, and tighten the screws.

3. Install the joint pipe.




4. Connect the battery ground cable to battery.