Knock Sensor: Service and Repair
REMOVAL1. Disconnect the battery ground cable.
2. Remove the intercooler.
3. Disconnect the knock sensor connector.
4. Remove the knock sensor from the cylinder block.
INSTALLATION
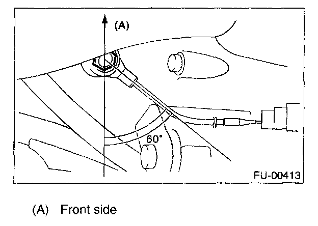
1. Install the knock sensor to the cylinder block.
Tightening torque: 24 N.m (2.4 kgf-m, 17.4 ft-lb)
NOTE: The extraction area of the knock sensor cord must be positioned at a 60 ° angle relative to the engine rear.
2. Connect the knock sensor connector.
3. Install the intercooler.
4. Connect the battery ground cable.