Curiosii for ever!: Car repair manuals for everyone.

Sensor Connectors


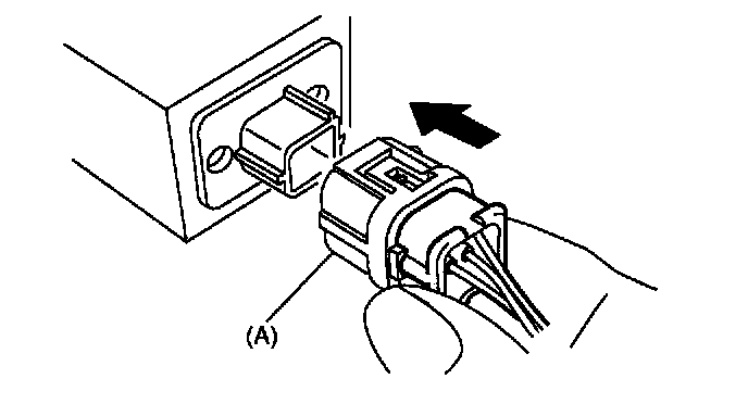
FRONT SUB SENSOR AND SIDE AIRBAG SENSOR CONNECTORS






Disconnection: Holding the outer part (A), pull the connector in the direction of the arrow.






Connection: Holding the inner part, push the connector into the socket carefully until a click is heard.


Do not hold the outer part (A) as it moves back during connection of the connector.



How to disconnect:
1. Push lock arm (A).




2. With lock arm (A) pushed in, move slide lock (B) in the direction of the arrow.
3. With slide lock (B) pulled, remove lock arm (A) to its original position, and then pull in the direction of the arrow and separate the connector.






CAUTION: When pulling, be sure to hold onto the connector and not the wire.

How to connect:
Holding the connector, and push it in carefully until a connecting sound is heard.






CAUTION: Be sure to insert the connector in until it locks.

Then pull on it gently to make sure that it is locked.