Curiosii for ever!: Car repair manuals for everyone.

System Relay: Testing and Inspection

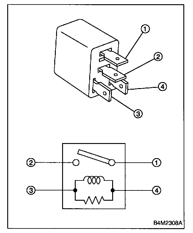
Relays




(3) - (4): Continuity exists.
(1) - (2): No continuity

While applying battery voltage to the cable between (3) and (4), check continuity between (1) and (2).

If no continuity exists, replace the relay with a new one.