Curiosii for ever!: Car repair manuals for everyone.

Transmission

Module


Component Location Overall View / Component Views:















1. Transmission Control Module (TCM) (for AT vehicle)
2. AT diagnostic indicator light (for AT vehicle)


Sensor


Component Views:





















1. Vehicle speed sensor 1 (for AT vehicle)
2. Vehicle speed sensor 2 (for MT vehicle)
3. Vehicle speed sensor 2 (for AT vehicle)
4. Torque converter turbine speed sensor
5. ATF temperature sensor (for AT vehicles)
6. Brake light switch

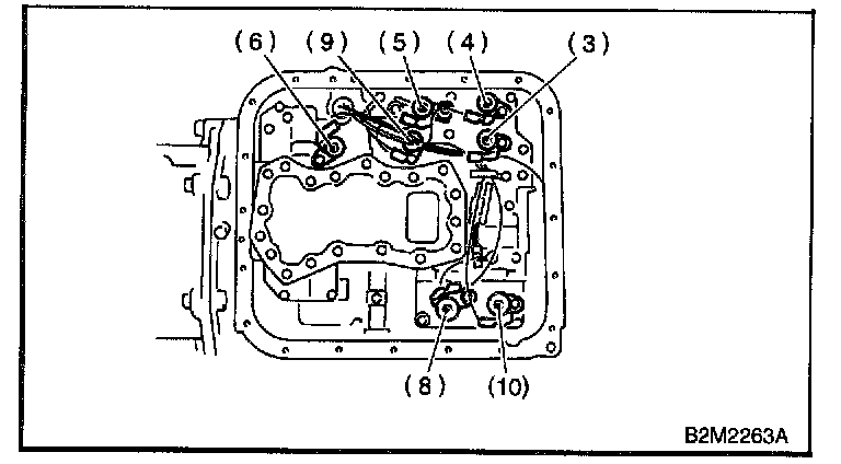
Solenoid Valve And Switch (AT Vehicle)

Component Views:


















1. Dropping resistor
2. Inhibitor switch
3. Shift solenoid valve 1
4. Shift solenoid valve 2
5. Line pressure duty solenoid
6. Lock-up duty solenoid
7. Transfer duty solenoid
8. Low clutch timing solenoid valve
9. 2-4 brake timing solenoid valve

Solenoid Valve And Switch (MT Vehicle)


Component Views:









1. Neutral position switch