Curiosii for ever!
: Car repair manuals for everyone.
Home
>>
Subaru
>>
2001
>>
Impreza L Sedan AWD F4-2.2L SOHC
>>
Repair and Diagnosis
>>
Specifications
>>
Mechanical Specifications
>>
Steering
>>
Service Specifications
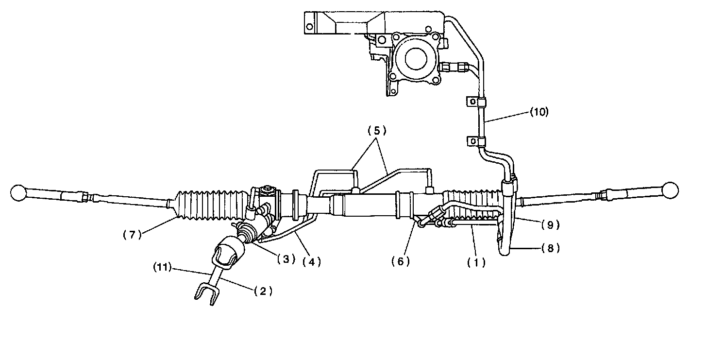
Service Specifications
SPECIFICATIONS
Part 1 of 4
Part 2 of 4
Part 3 of 4
Part 4 of 4
CAUTION:
This table lists various clearances that must be correctly adjusted to ensure normal vehicle driving without interfering noise, or any other faults.