Curiosii for ever!
: Car repair manuals for everyone.
Home
>>
Subaru
>>
2001
>>
Impreza L Sedan AWD F4-2.2L SOHC
>>
Repair and Diagnosis
>>
Powertrain Management
>>
Transmission Control Systems
>>
Locations
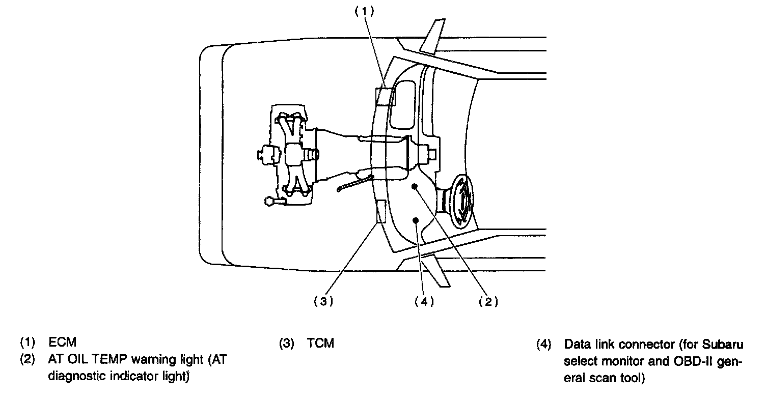
Transmission Control Systems: Locations
1. CONTROL MODULE
2. SENSOR
3. SOLENOID