Curiosii for ever!
: Car repair manuals for everyone.
Home
>>
Subaru
>>
2000
>>
Legacy Outback Ltd Sedan F4-2.5L SOHC
>>
Repair and Diagnosis
>>
Powertrain Management
>>
Computers and Control Systems
>>
Barometric Pressure Sensor
>>
Description and Operation
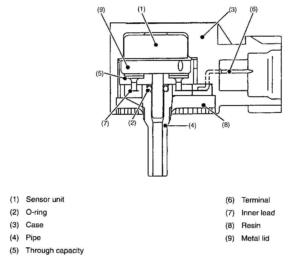
Barometric Pressure Sensor: Description and Operation
The
atmospheric pressure sensor
receives the atmospheric pressure, converts the pressure values into signals, and sends the signals to ECM.