F: Line-Pressure Shifting Control
F: LINE-PRESSURE SHIFTING CONTROLFunction
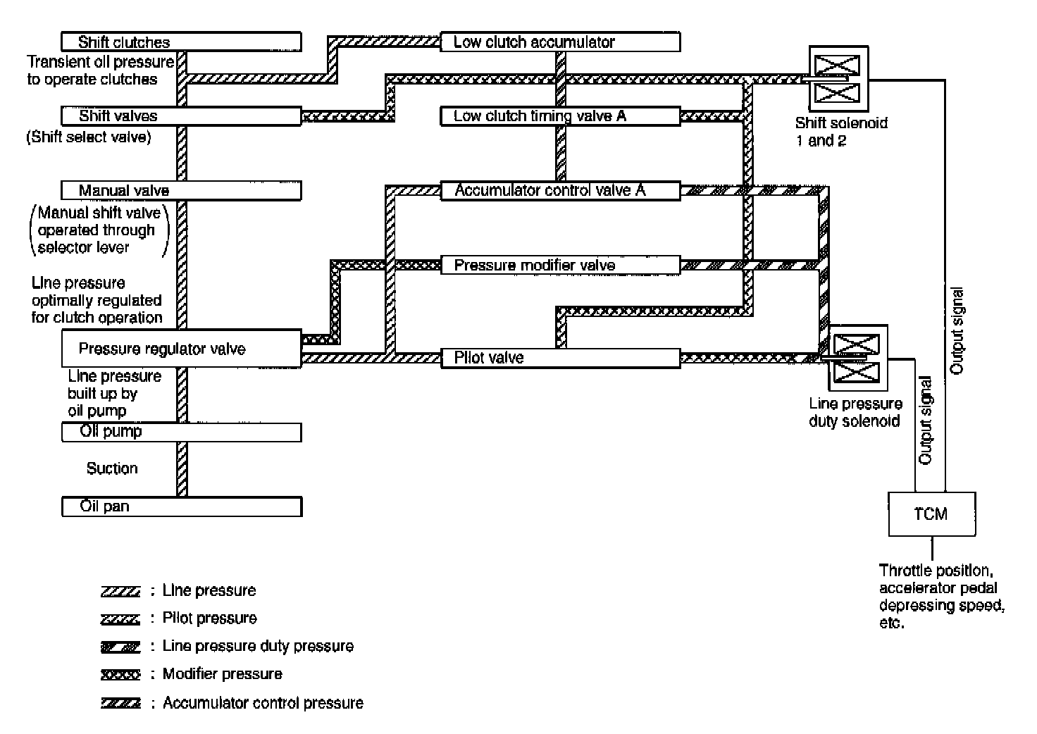
Oil pressure which engages shift clutches (to provide 1st through 4th speeds) is electronically controlled to meet varying operating conditions.
In other words, line pressure decreases to match the selected shift position, minimizing shifting shock.
Electronic Control Of Clutch Oil Pressure In Summary
- Solenoids activate through the TCM which receives various control signals (throttle signal, etc.)
- Control signals are converted into line pressure duty pressure, which is transmitted to the pressure modifier valve.