Curiosii for ever!: Car repair manuals for everyone.

Ignition Coil: Locations







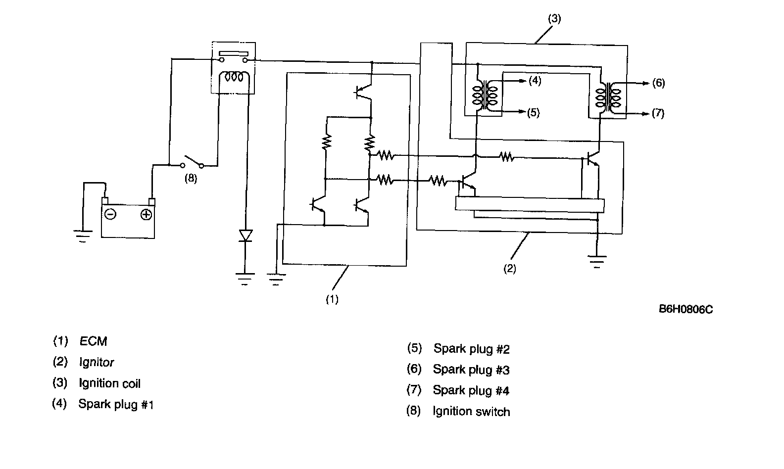
The ignition coil is of the type that is made integral with an ignitor.
The ignition system is of a 2-cylinder simultaneous ignition design. In response to the signal from the ECM, the ignitor supplies another signal to the ignition coil to ignite a pair of cylinders #1 and #2 or #3 and #4 simultaneously.