Curiosii for ever!
: Car repair manuals for everyone.
Home
>>
Subaru
>>
2000
>>
Forester L F4-2.5L SOHC
>>
Repair and Diagnosis
>>
Brakes and Traction Control
>>
Power Brake Assist
>>
Specifications
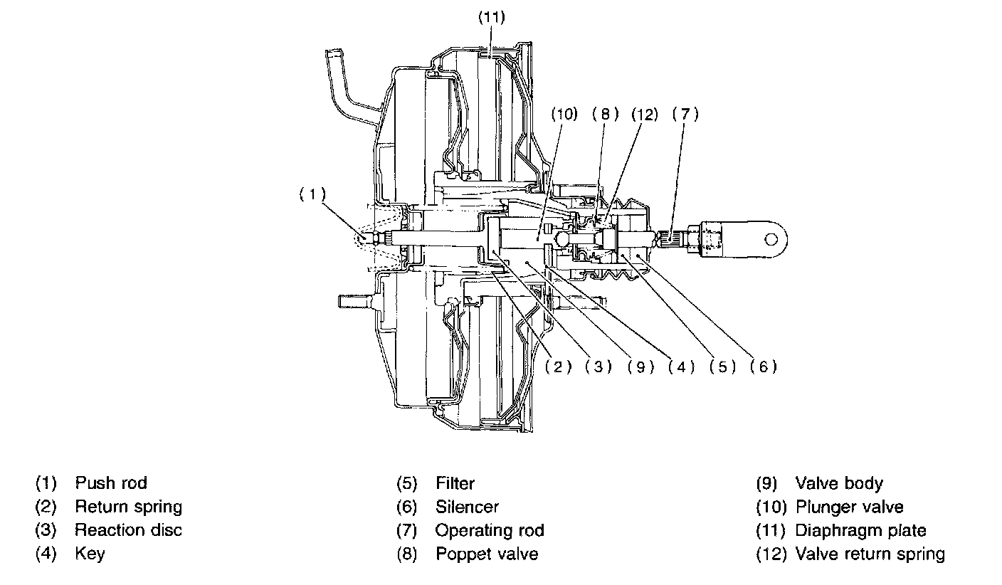
Power Brake Assist: Specifications