Curiosii for ever!: Car repair manuals for everyone.

California Only




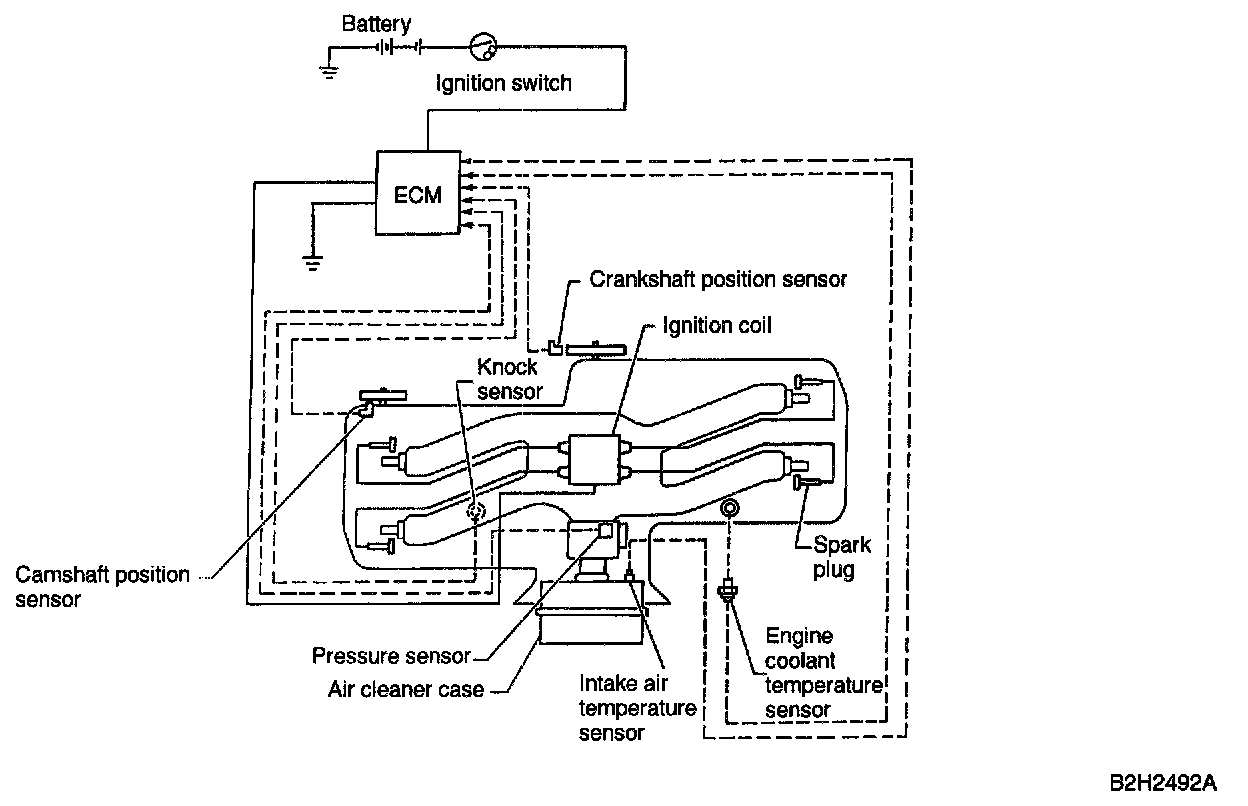
- The ignition control system is controlled by the ECM.
The ECM determines the optimal ignition timing according to signals sent from various sensors (which monitor the operating conditions of the engine), and sends a signal to the ignitor.

- The ECM has a "closed-loop" control function with map which provides superb transient characteristics for responsive ignition timing control.