Curiosii for ever!
: Car repair manuals for everyone.
Home
>>
Subaru
>>
1999
>>
Impreza Outback Sport F4-2.2L SOHC
>>
Repair and Diagnosis
>>
Powertrain Management
>>
Transmission Control Systems
>>
Testing and Inspection
>>
Component Tests and General Diagnostics
>>
Diagnostics For On-Board Diagnostics Failed
>>
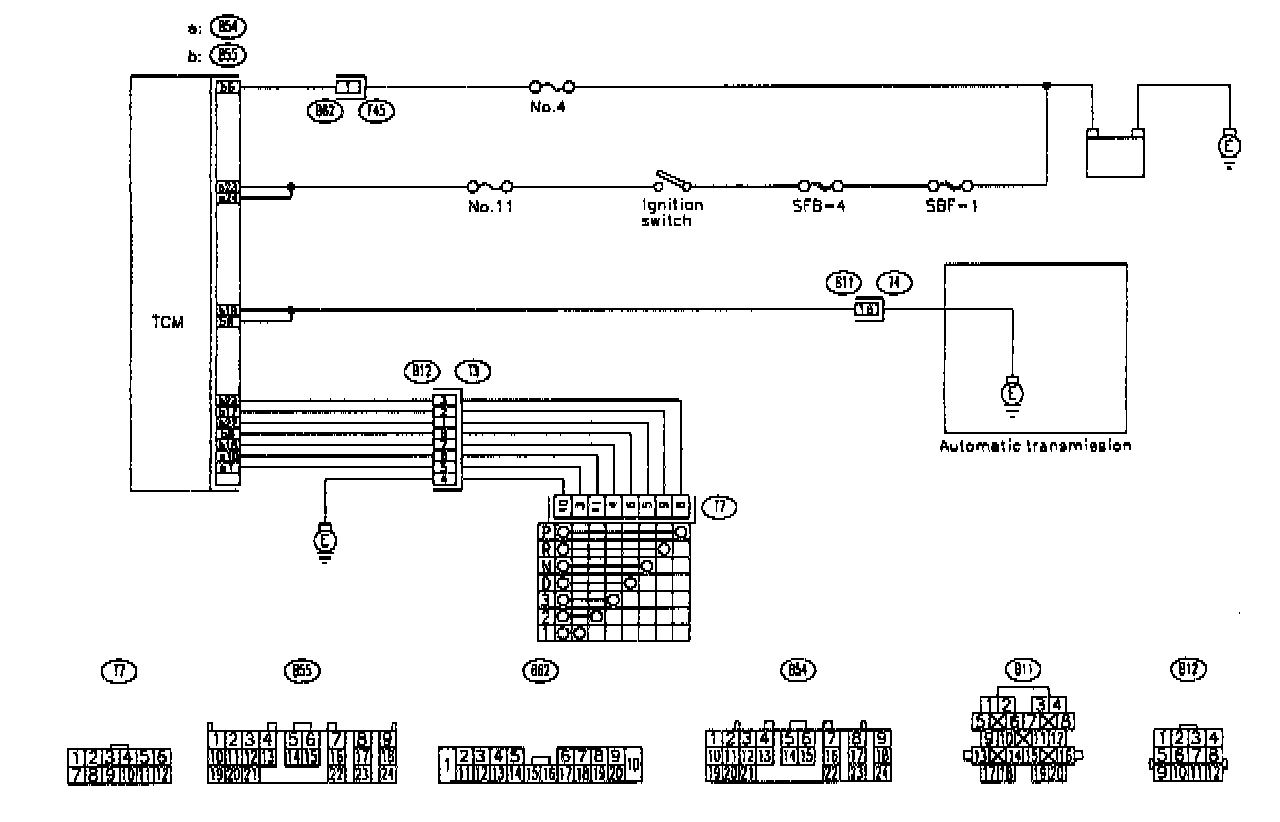
Control Module Power Supply and Ground Line
Control Module Power Supply and Ground Line
Diagnosis
Wiring Diagram