Curiosii for ever!: Car repair manuals for everyone.

On-Board Diagnostics System

A: Function





The on-board diagnostics system is capable of detecting any trouble which has occurred in any of the following input and output signal systems.
The results of on-board diagnostics are displayed by flashing ATF Temperature indicator lamp.
^ Repeated flashing at 4 Hz Error such as battery trouble
^ Repeated flashing at 2 Hz Normal
^ Output of trouble code Check faulty portion
^ Continued lighting of lamp Error in inhibitor switch, idle switch, or wiring

B: Operation Of Indicator Lamp





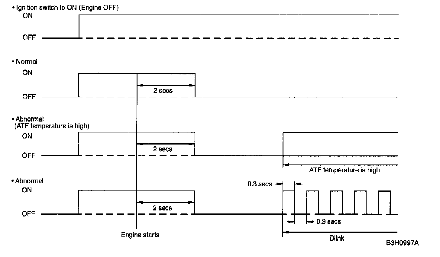
On starting the engine, AT OIL TEMP indicator lamp illuminates as shown below. If any trouble occurs, the lamp continues flashing until ignition switch is turned to ON position (engine turned off).





C: Trouble Code

D: Select Monitor
Various data and ON/OFF signals being processed in the TCM can be monitored by connecting the select monitor to the select monitor terminal located under the instrument panel.