Curiosii for ever!: Car repair manuals for everyone.

Rear

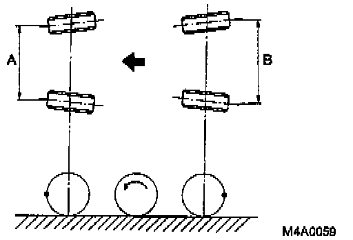
Measurement





1. Using a toe-in gauge, measure rear wheel toe-in. Toe-in: 0 ± 3 mm (0 ± 0.12 inch).
2. Mark rear sides of left and right tires at height corresponding to center of spindles and measure distance "B" between marks.
3. Move vehicle forward so that marks line up with front sides at height corresponding to center of spindles.
4. Measure distance "A" between left and right marks. Toe-in can then be obtained by the following equation: B - A = Toe-in.

Adjustment





1. Loosen self-locking nut on inner side of rear lateral link.

CAUTION:
^ When loosening or tightening adjusting bolt, hold bolt head and turn self-locking nut.
^ Discard loosened self-locking nut and replace with a new one.





2. Turn adjusting bolt head until toe-in is at the specification.

NOTE: When left and right wheels are adjusted for toe-in at the same time, the movement of one scale graduation changes toe-in by approximately 3 mm (0.12 inch).

3. Tighten self-locking nut. Tightening torque: 98 ± 15 Nm (72 ± 11 ft.lbs.).