Curiosii for ever!
: Car repair manuals for everyone.
Home
>>
Subaru
>>
1996
>>
Outback [Legacy] AWD F4-2.2L SOHC
>>
Repair and Diagnosis
>>
Power and Ground Distribution
>>
Fuse Block
>>
Locations
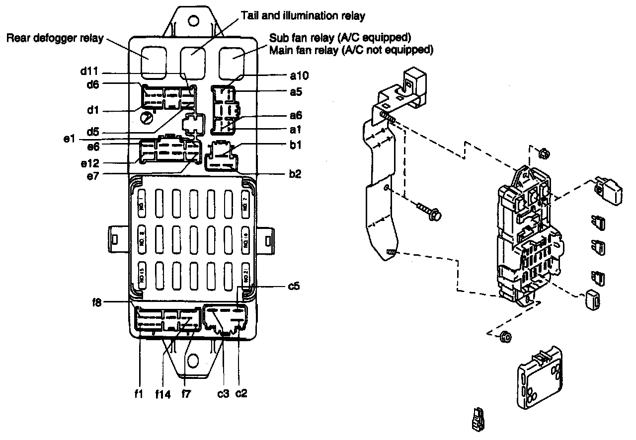
Fuse Block: Locations
The main fuse/relay box is located at the LH side of engine compartment
The fuse/relay box is located LH side of I/P