Curiosii for ever!: Car repair manuals for everyone.

Check Cruise Control Main Switch

CHECK CRUISE CONTROL MAIN SWITCH DIAGNOSIS:

Faulty cruise control main switch, or open harness.

TROUBLE SYMPTOM:




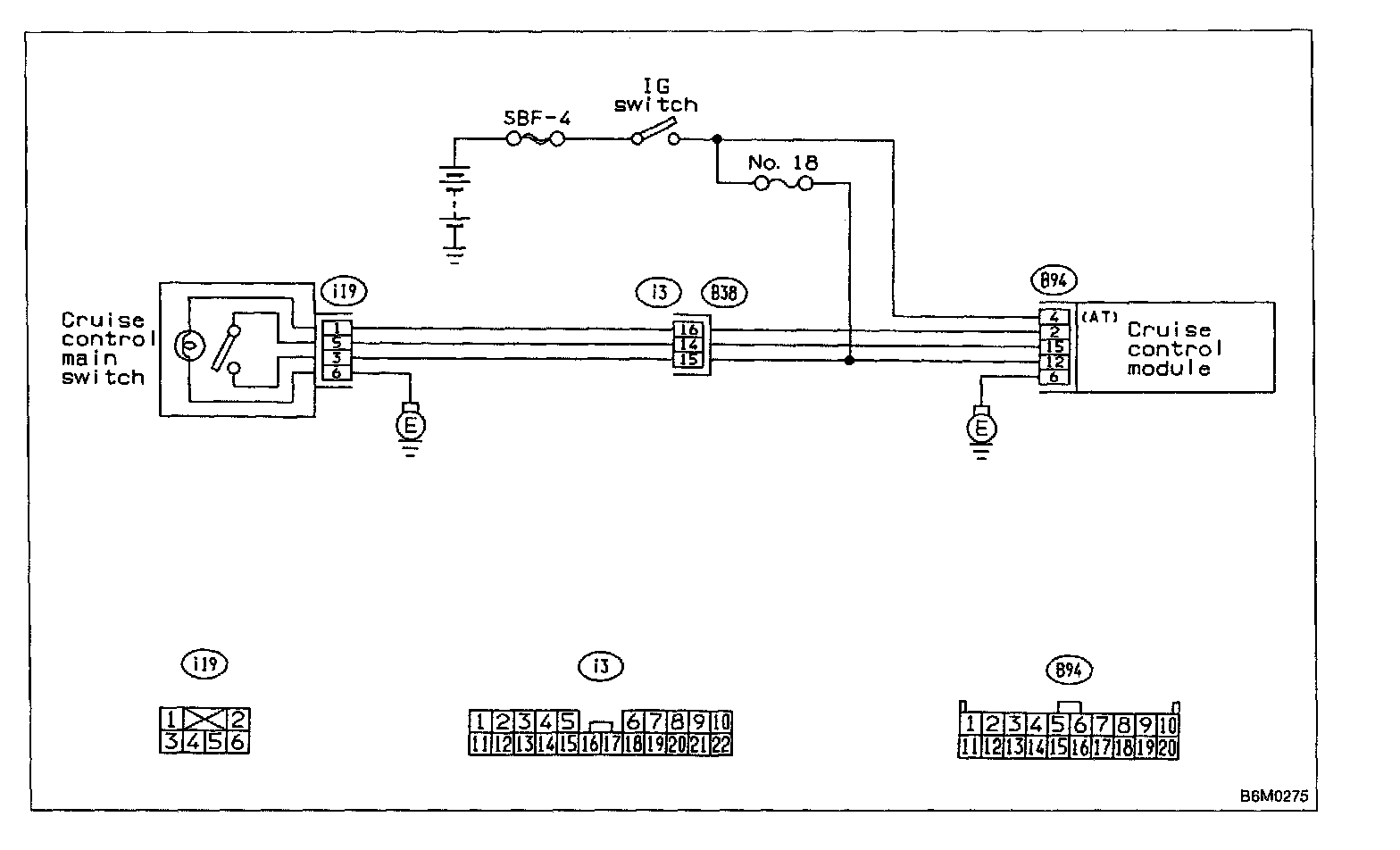
Wiring Diagram:




- Cruise control main switch is not turned ON and cruise control cannot be set.

NOTE: When the main relay (built-in cruise control module) operates, the main switch circuit is in normal condition. The main relay operation can be checked by hearing the operation sounds.

This operation sounds will be heard when ignition switch and cruise control main switch is turned to ON.

CHECK FUSE AND POWER SUPPLY.

1. Check fuse No.18.
2. Turn ignition switch to ON.




3. Measure voltage between fuse box connector and body.

Connector & terminal / Specified voltage:
(B51) No.4 - Body / 10 V, or more

CHECK CRUISE CONTROL MAIN SWITCH.

1. Turn ignition switch to OFF.
2. Remove cruise control main switch and disconnect connector.
3. Turn ignition switch to ON.




4. Measure voltage between cruise control main switch connector and body.

Connector & terminal / Specified voltage:
(i19) No.3 - Body / 10 V, or more




5. Measure resistance between cruise control main switch terminals.

Terminals / Specified resistance:
No.3 - No.5 / 10 Ohm, max. (ON)
1 MOhm, min. (OFF)

CHECK HARNESS CONNECTOR BETWEEN CRUISE CONTROL MAIN SWITCH AND CRUISE CONTROL MODULE.

1. Connect connector.
2. Turn ignition switch to ON.
3. Turn cruise control main switch to ON.




4. Measure voltage between each terminal of cruise control main switch or cruise control module and body.

Connector & terminal / Specified voltage:
(i19) No.3 - Body / 10 V, or more
(i19) No.5 - Body / 10 V, or more
(B94) No.15 - Body / 10 V, or more