Curiosii for ever!: Car repair manuals for everyone.

4. Rear Wheel Toe-In (FWD Model)

4. REAR WHEEL TOE-IN (FWD MODEL)





- Inspection
1) Using a toe-in gauge, measure rear wheel toe-in.

Toe-in: 0 ± 3 mm (0 ± 0.12 in)

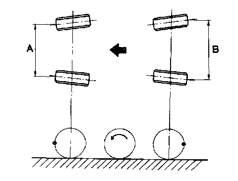
2) Mark rear sides of left and right tires at height corresponding to center of spindles and measure distance "B" between marks.
3) Move vehicle forward so that marks line up with front sides at height corresponding to center of spindles.
4) Measure distance "A" between left and right marks.

Toe-in can then be obtained by the following equation:
B - A Toe-in





- Adjustment
1) Remove cap from lateral link and loosen self-locking nut.

CAUTION:
- When loosening or tightening adjusting bolt, hold the bolt head and loosen self-locking nut.
- Replace self-locking nut with a new one.

2) Using two wrenches, turn adjusting wheel and adjusting bolt equally in opposite directions so that toe-in is at the specification.








NOTE;
- When left and right wheels are adjusted for toe-in at the same time, moving one scale graduation changes toe-in by approximately 4 mm (0.16 in).
- Turn adjusting wheel and adjusting bolt equally in opposite directions so that same scale graduations are positioned directly above center of the adjusting bolt.

3) Tighten self-locking nut.

Tightening torque:
137 ± 20 N.m (14 ± 2 kg-m, 101 ± 14 ft-lb)