Curiosii for ever!: Car repair manuals for everyone.

Camshaft Position Sensor: Description and Operation

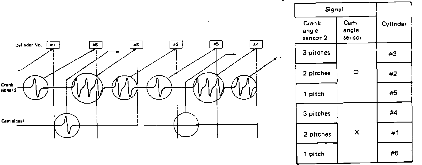
Cam Angle Sensor:





PURPOSE
The cam angle sensor generates a frequency signal used by the ECU to determine piston location.

LOCATION
The sensor is located on the front of the engine, at the left camshaft support.

Sensor Interpretation:





OPERATION
The sensor generates a signal pulse whenever the engine is rotating. As a tooth on the camshaft pulley passes behind the sensing head, a small electrical pulse is generated.

The signal is returned to the ECU and combined with the signal from crank angle sensor #2. By combining the signals, all cylinders can be identified.