Curiosii for ever!
: Car repair manuals for everyone.
Home
>>
Scion
>>
2013
>>
xB L4-2.4L (2AZ-FE)
>>
Repair and Diagnosis
>>
Specifications
>>
Mechanical Specifications
>>
Body and Frame
>>
System Specifications
>>
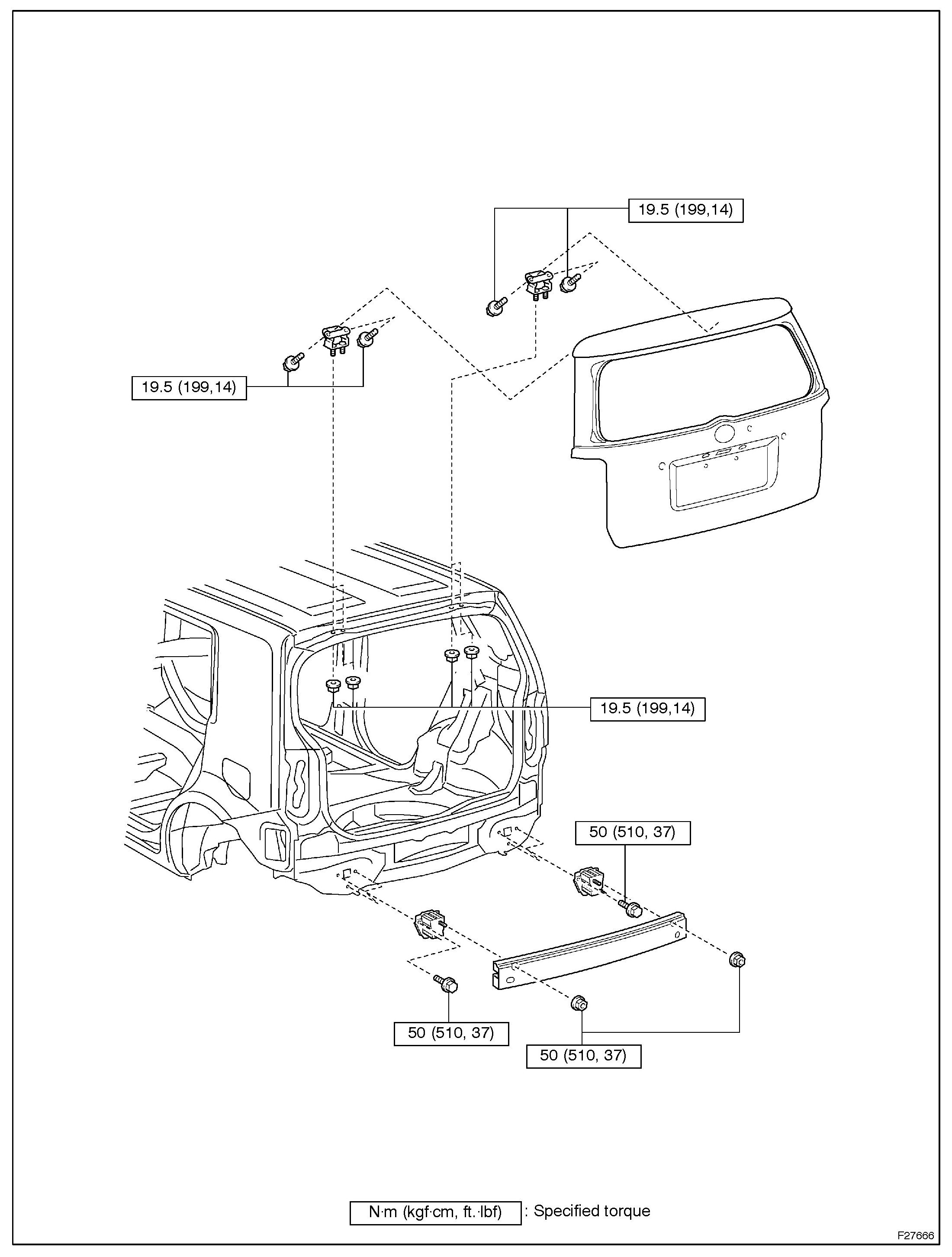
Outer Panel Installation Torque
Outer Panel Installation Torque