Curiosii for ever!: Car repair manuals for everyone.

Part 2






INTRODUCTION: REPAIR INSTRUCTION: PRECAUTION; 2013 MY FR-S [03/2012 -] (Continued)

6. REMOVAL AND INSTALLATION OF ENGINE INTAKE PARTS

(a) If any metal particles enter intake system parts, this may damage the engine.





(b) When removing and installing intake system parts, cover the openings of the removed parts and engine openings. Use adhesive tape or other suitable materials.

(c) When installing intake system parts, check that no metal particles have entered the engine or installed parts.

7. REMOVING AND INSTALLING HOSES

(a) Before removing and installing hoses

* Using hoses that are damaged or deformed may cause seeping, leaking, or coming off hoses, etc. Leaked oil may disperse into the exhaust pipe and ignite or cause fumes, so take sufficient care during inspection and maintenance.

* Neglecting to remove hoses when working on areas that require removal of hoses may damage the interior of the hoses. Be sure to remove such hoses when working.

(b) When removing, installing, and inspecting hoses

(1) Comply with the following when removing hoses.









* When using standard hose removers, do not use hose removers with pointed tips (hose pluckers) as pointed tips may damage the hose or the surface of the pipe.

* When using pliers, etc. to make hose removal process easier, be sure to protect the hose with a cloth, then pull it out by hand in a straight line while rotating it slightly.

(2) When continuing to use the same hose, perform the following inspection, and replace with a new hose if a fault is found.









* Replace hoses that have ridden up on the stay or spool.

* Bend hoses and check carefully to see whether they exhibit damage to their outer or inner surfaces, cracks, fractures, hardened or softened rubber, swelling, peeling interiors, or deformation due to foreign matter adhering to or penetrating the hose. Replace with a new hose if any of these problems are found.

(3) Comply with the following when installing hoses.









* Take sufficient care with regard to where the hose is installed.

* Do not use lubricant.

* Push in firmly up to the specified position (the seat or spool).

* Check whether the hose clamp position, orientation, and hose layout are correct (Check that the positioning and orientation are correct, that the hose is not too long or too short, that the hose is not different to before the procedure was done, and that sufficient space has been left between the hose and other parts in the area).

* After attaching the hoses, check that they are not leaking or losing fluid (Check that the hoses are firmly fixed in place with the clamps).

(4) For hose clips and hose clamps, perform the following inspection and replace with new ones if a fault is found.

* Check for the presence of deformation, rust, damage, and foreign matter.

* For clips, check that the springs are performing properly, and that the clip has sufficient clamping force.

* For clamps, check that the clamp can be screw-tightened, that the clamp is not elliptical in shape, and that the screws are undamaged.

(5) For pipes, perform the following inspection, and replace with a new pipe if a fault is found.

* Check that there is no damage, rust, peeling (including peeling plating), foreign matter, bending, breakage, or fracturing.

(6) Replace the following parts with new ones when removing or changing the attachment position of the hose.

* Transmission oil cooler hose and fuel hose

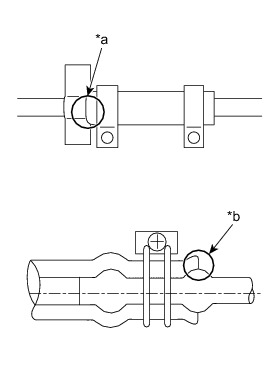
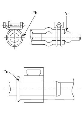
8. HANDLING OF HOSE CLAMPS









(a) Before removing a hose, check the clamp position so that it can be reinstalled in the same position.

(b) Replace any deformed or dented clamps with new ones.

(c) When reusing a hose, attach the clamp on the clamp track portion of the hose.

(d) For a spring type clamp, it may be necessary to spread the tabs slightly after installation by pushing them in the direction of the arrows as shown in the illustration.

9. FOR VEHICLES EQUIPPED WITH MOBILE COMMUNICATION SYSTEMS





(a) Install the antenna as far away from the ECU and sensors of the vehicle electronic systems as possible.

(b) Install the antenna and feeder at least 20 cm (7.87 in.) away from the ECU and sensors of the vehicle electronic systems. For details about ECU and sensor locations, refer to the information on the applicable components.

(c) Keep the antenna and feeder separate from other wiring as much as possible. This will prevent signals sent from the communication equipment from affecting vehicle equipment and vice versa.

(d) Check that the antenna and feeder are correctly adjusted.

(e) Do not install a high-powered mobile communication system.

10. HEADLIGHT INSPECTION OR MAINTENANCE

(a) When the headlight dimmer switch assembly is set to head, do not touch the discharge headlight high-voltage socket area.

NOTICE:
When performing inspection or maintenance, the discharge headlight precautions must be followed.

(b) When the headlights are illuminated, do not cover the headlights for 3 minutes or more.









NOTICE:
As the headlight's outer lens is made of resin, the resulting heat created when covering the headlight for an extended period of time may deform the headlight.