Curiosii for ever!: Car repair manuals for everyone.

Diagnosis System






NETWORKING: CAN COMMUNICATION SYSTEM: DIAGNOSIS SYSTEM; 2013 MY FR-S [03/2012 -]

1. ECUS OR SENSORS WHICH COMMUNICATE THROUGH CAN COMMUNICATION SYSTEM

(a) V Bus

(1) Main body ECU (network gateway ECU)

(2) Combination meter assembly

(3) ECM

(4) TCM*

(5) Skid control ECU (brake actuator assembly)

(6) Steering angle sensor (spiral cable sub-assembly)

(7) Power steering ECU assembly

(8) Air bag ECU assembly

(9) PSP (option connector)

*: for Automatic Transmission System

2. CHECK FOR INSTALLED SYSTEMS (ECUS AND SENSORS) THAT ADOPT CAN COMMUNICATION

(a) The systems (ECUs and sensors) that adopt CAN communication vary depending on the vehicle and optional equipment. Check which systems (ECUs and sensors) are installed on the vehicle.

HINT
The names of ECUs and sensors shown on the Techstream display may differ from those shown in the DTC Table by ECU information that follows.





3. CAN BUS CHECK

HINT
The ECUs and sensors that are properly connected to the CAN communication system can be displayed using the Techstream.

(a) Using the Techstream, select "CAN Bus Check" from "System Select".

NOTICE:
* It may be possible to select buses that do not have ECUs or sensors from the bus selection pull-down menu. This is not a malfunction. (This occurs when optional devices are not on a sub bus that is monitored by a gateway function equipped ECU.)
* In the bus selection pull down menu, all buses applicable to the model are displayed (e.g. LIN communication buses are also displayed). Therefore, refer to the wiring diagrams to check the names of the sub buses for CAN communication System Diagram.

HINT
Different connection statuses are indicated by the background color of the ECUs and sensors that are displayed.

Explanation of CAN Bus Check (Communication Bus Check) screen





HINT
* Gateway function equipped ECUs relay signals between the ECUs connected to the different buses.
* *1: ECUs that are present in the vehicle but are not displayed on the CAN Bus Check.
* *2: Gateway function equipped ECU that does not memorize the sub bus ECUs that are connected to it.
* *3: Gateway function equipped ECU that memorizes the sub bus ECUs that are connected to it.
* If none of the connected ECUs are displayed, or there is no response from the vehicle to the Techstream, check the DLC3 branch and the V bus main bus lines for a malfunction.

(b) Observe the connection response screen for approximately 2 minutes to check for a change in connection status of the connected ECUs and sensors.

HINT
* If an open occurs in one of the lines of a CAN branch (except DLC3), output from the other branch line (the line that is not open) will be unstable and it may interfere the response (display) of other ECUs and sensors.
* If the connection status changes during the inspection, repair the open in the branch line of the ECU or sensor that does not respond (is not detected) and then perform the CAN bus check again.

4. HOW TO INTERPRET CAN BUS CHECK (COMMUNICATION BUS CHECK) SCREEN

(a) When a communication stop is currently occurring, the probable malfunctioning part can be determined from the CAN bus check and by using the following methods.

NOTICE:
The following CAN bus wiring diagram is provided only as an example. This wiring diagram is different from the actual wiring diagram for this vehicle.

HINT
* When a communication stop is currently occurring, it is easier to determine the probable malfunctioning part from the CAN bus check rather than from communication DTCs.
* Wait for approximately 2 minutes after turning the Ignition switch ON (or simulate the driving conditions that enable the malfunction to be reproduced) and select the CAN bus check. Then observe the communication status of each ECU on the screen.

(b) If a communication error of only 1 ECU or sensor is indicated on the CAN Bus Check screen, a communication stop of the ECU or sensor is suspected.

Example: Open in both CAN branch lines of ECU B on the V bus









HINT
When there are communication stops, ECUs are present in the vehicle even though they are not displayed on the CAN Bus Check screen.

(c) If communication errors for multiple ECUs or sensors are indicated on the CAN Bus Check screen, then a communication stop of the ECU or sensor that shows a more serious communication stop (an ECU or a sensor which is not displayed) is suspected.

Example: Open in a CAN branch line for ECU D on the V bus









Explanation of CAN Bus Check (Communication Bus Check) screen





HINT
* Gateway function equipped ECUs relay signals between the ECUs connected to the different buses.
* *1: ECUs that are present in the vehicle but are not displayed on the CAN Bus Check screen.
* *2: Gateway function equipped ECU that does not memorize the sub bus ECUs that are connected to it.
* *3: Gateway function equipped ECU that memorizes the sub bus ECUs that are connected to it.
* The example of the CAN Bus Check screen in the illustration shows the result of electrical noise on the CAN bus which is caused by an open in a CAN branch line of ECU D (output from the other branch line is unstable) and the communication of ECU C is also unstable. In addition, in this example, ECU C is equipped with a gateway function. Therefore, communication is also unstable between the sub bus ECUs of ECU C and the V bus.
* The example in the illustration shows that ECU D is not displayed on the CAN Bus Check screen. This indicates a more significant communication stop. In this case, a communication stop of ECU D is suspected.

(d) If a communication error is indicated on both the V bus and sub bus on the CAN Bus Check screen, suspect any communication stop displayed for the V bus first.

Example: Open in both CAN branch lines of ECU C on the V bus









HINT
* In the CAN bus check, it is possible to confirm the communication status of ECUs connected to the V bus after connecting the Techstream to the DLC3. As for the sub buses, it is possible to confirm which sub bus connected ECUs can communicate with a gateway function equipped ECU on the V bus.
* If a gateway function equipped ECU has a communication error, ECUs connected to the gateway function equipped ECU are also affected, and communication stops will be indicated.
* The CAN Bus Check screen in the illustration shows that ECU C has a gateway function and a communication stop in ECU C is suspected.

(e) If the CAN Bus Check screen indicates a communication stop only in the sub bus, a communication stop in the sub bus is suspected.

Example: Open in both CAN branch lines of ECU G on the sub bus









HINT
* A communication error in a sub bus does not affect the V bus or other buses.
* When a gateway function equipped ECU has memorized the ECUs that are connected to the sub bus, if any of the ECUs connected to the gateway function equipped ECU has a communication error, the background color changes to yellow or red. (The displayed name will not disappear.)

(f) If both of the V bus main bus lines are open, ECUs or sensors that are located farther away from the DLC3 than the open part will be displayed as a communication stop on the CAN Bus Check screen.

(In this case, ECU A and B are not displayed or their background color changes to red.)









HINT
If a communication error occurs in an ECU, it is not displayed on the CAN Bus Check screen even though the ECU is present.

(g) If both of the sub bus main bus lines are open, the ECUs that are located farther away from the gateway function equipped ECU than the open part will be displayed as a communication stop on the CAN Bus Check screen.

(In this case, ECU I and J are not displayed or their background color changes to red.)









(h) When any of the following malfunctions occurs, CAN communication cannot be established and almost all ECUs and sensors on the bus show a communication error on the CAN Bus Check screen.









Details of Malfunction





HINT
* When a malfunction occurs on the V bus, almost all ECUs and sensors on the V bus and sub bus indicate a communication error (almost all ECUs are not displayed). As communication with the gateway function equipped ECU that is connected to the V bus stops, communication from the ECUs connected to the sub bus that is monitored by the gateway function equipped ECU also stops (these ECUs are not displayed).
* When a malfunction occurs in a sub bus, almost all ECUs connected to the sub bus indicate a communication error.
* A communication error in a sub bus does not affect the V bus or other buses.
* The malfunctioning part can be determined by checking for a short circuit between CAN bus lines or between a CAN bus line and ground or +B short using an electrical tester.

5. HOW TO INTERPRET COMMUNICATION DTCS (DTCS THAT START WITH U)

(a) If a CAN communication error cannot be reproduced, determine the suspected malfunctioning part using the DTCs stored in ECUs that are connected to the CAN buses by following the procedure below.

HINT
Communication DTCs (DTCs that start with U) indicate a communication error between the ECU that stores the DTC and the ECU that is indicated by the DTC.

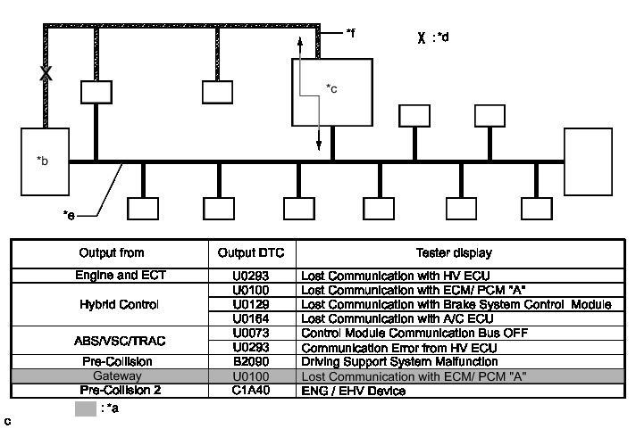
(1) If multiple ECUs store a communication DTC for a particular ECU, a communication stop of the ECU is suspected.









NOTICE:
* This DTC table is from another model, and is only used here to show an example of DTCs that are output when there is an open in a CAN branch line for the main body ECU. This table does not show DTCs applicable to this vehicle.
* Even though a DTC title may indicate a communication error with a specific ECU, the ECU name used in the DTC name on the Techstream may differ depending on the ECU that stores the DTC. (Regarding output DTCs, refer to step 6 and the DTC chart for each ECU.)

HINT
As multiple ECUs indicate a communication stop with the main body ECU, the possibility of a communication stop of the main body ECU is high.

(2) If almost all of the communication DTCs of an ECU are stored, a communication stop of the ECU is suspected.









NOTICE:
This DTC table is from another model, and is only used here to show an example of DTCs that are output when there is an open in a CAN branch line for the main body ECU. This table does not show DTCs applicable to this vehicle.

HINT
If almost all of the DTCs of the main body ECU are stored, the possibility of a communication stop of the main body ECU is high.

(3) When a CAN communication error occurs, many DTCs are output. DTCs other than communication error DTCs (such as DTCs that start with C or B) and communication DTCs for the ABS system are important DTCs, however it may be easier to determine the malfunctioning part by examining the overall situation without considering these DTCs.

(b) To help determine the part of the sub bus that has a communication error, prioritize the communication stop DTCs stored in the gateway function equipped ECU.









NOTICE:
This DTC table is from another model, and is only used here to show the ECUs connected to both a V bus and a sub bus. It shows DTCs output when there is an open in the main bus lines for the ECM on the sub bus. This table does not show DTCs applicable to this vehicle.

HINT
* As gateway function equipped ECUs (sub bus monitor ECU) monitor signals from all ECUs that are connected to sub buses, gateway function equipped ECUs can detect ECUs with a communication stop more accurately.
* When there is a communication stop for the gateway function equipped ECU (gateway), communication with ECUs connected to other buses such as the V bus stops. Therefore, communication DTCs for ECUs connected to other buses are also stored.

(c) When any of the following malfunctions occurs, many DTCs are likely to be output from many ECUs. Because of this, it may be difficult to determine the probable malfunctioning part.

* Short between CAN lines (CANH and CANL)

* Short between a CAN line (CANH or CANL) and ground

* Short between a CAN line (CANH or CANL) and +B

* Open in a CAN branch line (CANH or CANL) of an ECU or sensor

* Open in a CAN main bus line (CANH or CANL) between 2 ECUs that have a terminating resistor

6. DTC TABLE BY ECU

HINT
* In the CAN communication system, the CAN communication DTCs of each ECU can be displayed using the Techstream.
* If CAN communication system DTCs are output, trouble cannot be determined only by the DTCs. Perform troubleshooting according to How to Proceed with Troubleshooting How to Proceed With Troubleshooting.
* If system function temporarily returns to normal, DTCs may not be output again even though the following DTC check procedures are used.

(a) Main Body ECU (Network Gateway ECU) / Techstream Display "Main Body"













HINT
This ECU uses the CAN communication system for DTC communication.

(b) Combination Meter Assembly / Techstream Display "Combination Meter"









HINT
This ECU uses the CAN communication system for DTC communication.

(c) ECM / Techstream Display "Engine"









HINT
This ECU uses the CAN communication system for DTC communication.

(d) TCM / Techstream Display "ECT"









HINT
This ECU uses the CAN communication system for DTC communication.

(e) Skid Control ECU (Brake Actuator Assembly) / Techstream Display "ABS/VSC/TRAC"





HINT
This ECU uses the CAN communication system for DTC communication.

(f) Steering Angle Sensor (Spiral Cable Sub-assembly) / Techstream Display "-"

HINT
The steering angle sensor is connected to the CAN communication system, but CAN communication DTCs are not output.

(g) Power Steering ECU Assembly / Techstream Display "EMPS"





HINT
This ECU uses the CAN communication system for DTC communication.

(h) Air Bag ECU Assembly / Techstream Display "SRS Airbag"





HINT
This ECU uses the CAN communication system for DTC communication.

(i) PSP (Option Connector) / Techstream Display "-"

HINT
The PSP (option connector) is connected to the CAN communication system, but CAN communication DTCs are not output.

7. DTC COMBINATION TABLE (OPEN IN CAN BRANCH OF V BUS, PAST COMMUNICATION ERROR)

(a) Regarding the past communication error of ECUs and sensors connected to the V bus (in this case, normal was displayed when performing the CAN bus check, but communication DTCs are output), the probable CAN branch that had a malfunction can be determined based on the following DTC combination table.

HINT
* Based on the table below and DTCs output from ECUs connected via CAN communication, the probable part for which communication stop occurred can be determined.
* Regarding an open in a CAN branch and a communication stop that is currently occurring, the malfunctioning part can be confirmed easily by performing the CAN bus check using the Techstream because the ECU or sensor connected to the CAN branch does not respond (the ECU or sensor name will not be displayed on the screen).
* If an open in a CAN main bus line, a short between the CAN bus lines (CANH and CANL) or a +B or ground short in the CAN bus occurs, DTCs of almost all ECUs (or sensors) on the CAN bus may be output, or a message indicating a communication error may be displayed on the Techstream screen. In this case, check the resistance of the CAN bus (steps 7 to 9) first.
* If an open occurs in just one of the lines of a CAN branch, DTCs which are not related to malfunctioning parts may be output (DTCs may be displayed randomly), or a message indicating a communication error may be displayed.

















HINT
* o: Set
* X: Not set or may be set according to the malfunctioning part when one line of a CAN branch is open.
* -: DTC is not output.
* *:1 DTC is not output during communication error, but will be output as a history DTC (past DTC) when communication returns to normal.
* *:2 DTC may not be stored depending on conditions.

8. CAN BUS WAVEFORMS





HINT
* This waveform is measured between terminals CANH and GND, and terminals CANL and GND of the DLC3. (Use this as a reference for diagnosis of CAN communication lines.)
* When malfunctions in multiple ECUs are suspected based on CAN Bus Check and DTCs checked using the Techstream, check the resistance of the CAN bus using an ohmmeter first How to Proceed With Troubleshooting. If no problems are found, check the following waveforms.
* If a waveform is not similar to one of the following 3 patterns (Group 1), then an open in a CAN main bus line, an open in a CAN branch line, or a short between a CAN line (CANH or CANL) and ground is suspected (Group 2).
* Wiggle the connector and wire harness to check if the waveform changes.

(a) CAN bus waveforms (Group 1)

(1) Normal waveform





(2) Open in both of the lines (CANH and CANL) of a CAN branch





HINT
* Waveforms (waveforms shown using dotted lines) are not present from an ECU or sensor connected to a CAN branch with an open circuit in both lines. (Waveforms from other ECUs or sensors are normal.)
* Because this waveform is similar to a normal waveform, instead of using the waveform, the malfunctioning part can be narrowed down by performing a CAN bus check.

(3) Short between the CAN bus lines (CANH and CANL)





HINT
* Waveforms disappear.
* If the malfunction is in an ECU, disconnecting the ECU will change the waveform. If the waveform does not change, a malfunction in the wire harness is suspected.

(b) CAN bus waveforms (reference) (Group 2)

NOTICE:
The following CAN bus waveforms can be used only as reference. The actual measured waveform may differ significantly depending on the location of the open or short circuit.

(1) Open in a CAN branch line (CANH)





HINT
* An abnormal waveform is output from an ECU with an open in one of its CAN branch lines. Because this abnormal output interferes with the signals from other ECUs, the output of other ECUs will also appear abnormal.
* Narrow down the malfunctioning part by checking DTCs or performing a CAN bus check, or by checking waveform changes when ECUs or sensors are disconnected. The waveform will change to one for an open in both sides of a CAN branch when the ECU or sensor with an open CAN branch line is disconnected.

(2) Open in a CAN branch line (CANL)





HINT
* An abnormal waveform is output from an ECU with an open in one of its CAN branch lines. Because this abnormal output interferes with the signals from other ECUs, the output of other ECUs will also appear abnormal.
* Narrow down the malfunctioning part by checking DTCs or performing a CAN bus check, or by checking waveform changes when ECUs or sensors are disconnected. The waveform will change to one for an open in both sides of a CAN branch when the ECU or sensor with an open CAN branch line is disconnected.

(3) Open in a CAN main bus line (CANH)





HINT
* Waveforms of ECUs or sensors that are nearer to the DLC3 than the open part are almost normal.
* Waveforms of ECUs or sensors that are on the opposite side of the DLC3 from the open part are abnormal.
* An open in a CAN main bus line can be confirmed by measuring the resistance between the CANH and CANL terminals of any CAN branch.

(4) Short between a CAN bus line (CANH) and ground





HINT
* Narrow down the shorted part by checking for waveform changes when disconnecting connectors from the CAN junction connector or when disconnecting ECUs or sensors.
* A short to ground in the CANH line can be confirmed by measuring the resistance between CANH and ground using an ohmmeter.

(5) Short between a CAN bus line (CANL) and ground





HINT
* Narrow down the shorted part by checking for waveform changes when disconnecting connectors from the CAN junction connector or when disconnecting ECUs or sensors.
* A short to ground in the CANL line can be confirmed by measuring the resistance between CANL and ground using an ohmmeter.