Curiosii for ever!: Car repair manuals for everyone.

Open In CAN Main Bus Line






NETWORKING: CAN COMMUNICATION SYSTEM: Open in CAN Main Bus Line; 2013 MY FR-S [03/2012 -]
- Open in CAN Main Bus Line

DESCRIPTION

There may be an open circuit one of the V bus main lines and/or a DLC3 branch line when the resistance between terminals 6 (CANH) and 14 (CANL) of the DLC3 is 64 Ohms or higher.





This malfunction is not related to the lines of a CAN main bus branch or to ECUs or sensor connected a CAN main bus branch.

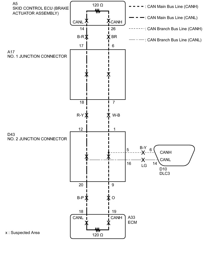
WIRING DIAGRAM





INSPECTION PROCEDURE

NOTICE:
* Before measuring the resistance of the CAN bus, turn the ignition switch off and leave the vehicle for 1 minute or more without operating the key, switches or opening or closing the doors. After that, disconnect the cable from the negative (-) battery terminal and leave the vehicle for 1 minute or more before measuring the resistance.
* After turning the ignition switch off, waiting time may be required before disconnecting the cable from the negative (-) battery terminal. Therefore, make sure to read the disconnecting the cable from the negative (-) battery terminal notices before proceeding with work Service Precautions.
* Because the order of diagnosis is important to allow correct diagnosis, make sure to begin troubleshooting using How to Proceed with Troubleshooting when CAN communication system related DTCs are output How to Proceed With Troubleshooting.
* After performing repairs, perform the DTC check procedure and confirm that the DTCs are not output again.
* DTC check procedure: Turn the ignition switch to ON, wait at least 60 seconds,
* After the repair, perform CAN Bus Check and check that all the ECUs and sensors connected to the CAN communication system are displayed Diagnosis System.

HINT
* Operating the ignition switch, any other switches or a door triggers related ECU and sensor communication on the CAN. This communication will cause the resistance value to change.
* Even after DTCs are cleared, if a DTC is stored again after driving the vehicle for a while, the malfunction may be occurring due to vibration of the vehicle. In such a case, wiggling the ECUs or wire harness while performing the inspection below may help determine the cause of the malfunction.

PROCEDURE

1. CHECK FOR OPEN IN CAN BUS LINES (DLC3 BRANCH LINE)

(a) Disconnect the cable from the negative (-) battery terminal.

(b) Measure the resistance according to the value(s) in the table below.









Standard Resistance:





NOTICE:
When the measured value is 127 Ohms or higher and a CAN communication system DTC is output, there may be a fault besides disconnection of the DLC3 branch line. For that reason, troubleshooting should be performed again from How to Proceed with Troubleshooting after repairing the trouble area How to Proceed With Troubleshooting.

NG -- REPAIR OR REPLACE CAN BRANCH LINE CONNECTED TO DLC3
OK -- Continue to next step.

2. CHECK FOR OPEN IN CAN BUS LINES (ECM)

(a) Disconnect the A33 ECM connector.









(b) Measure the resistance according to the value(s) in the table below.

Standard Resistance:





NG -- CHECK FOR OPEN IN CAN BUS LINES (SKID CONTROL ECU (BRAKE ACTUATOR ASSEMBLY))

OK -- REPLACE ECM Removal

3. CHECK FOR OPEN IN CAN BUS LINES (SKID CONTROL ECU (BRAKE ACTUATOR ASSEMBLY))

(a) Reconnect the A33 ECM connector.

(b) Disconnect the A5 skid control ECU (brake actuator assembly) connector.









(c) Measure the resistance according to the value(s) in the table below.

Standard Resistance:





NG -- CHECK FOR OPEN IN CAN BUS LINES (CAN NO. 2 J/C)

OK -- REPLACE SKID CONTROL ECU (BRAKE ACTUATOR ASSEMBLY) Removal

4. CHECK FOR OPEN IN CAN BUS LINES (CAN NO. 2 J/C)

(a) Reconnect the A5 skid control ECU (brake actuator assembly) connector.

(b) Disconnect the wire harness connector from the D43 CAN No. 2 junction connector.









(c) Measure the resistance according to the value(s) in the table below.

Standard Resistance:





Result:





B -- CHECK FOR OPEN IN CAN BUS LINES (CAN NO. 2 J/C - CAN NO. 1 J/C)

C -- REPAIR OR REPLACE CAN MAIN BUS LINE OR CONNECTOR (CAN NO. 2 J/C - ECM)

A -- REPLACE CAN NO. 2 JUNCTION CONNECTOR

5. CHECK FOR OPEN IN CAN BUS LINES (CAN NO. 2 J/C - CAN NO. 1 J/C)

(a) Reconnect the wire harness connector to the D43 CAN No. 2 junction connector.

(b) Disconnect the wire harness connector from the A17 CAN No. 1 junction connector.









(c) Measure the resistance according to the value(s) in the table below.

Standard Resistance:





NG -- REPAIR OR REPLACE CAN MAIN BUS LINE OR CONNECTOR (CAN NO. 1 J/C - CAN NO. 2 J/C)
OK -- Continue to next step.

6. CHECK FOR OPEN IN CAN BUS LINES (CAN NO. 1 J/C - SKID CONTROL ECU (BRAKE ACTUATOR ASSEMBLY))









(a) Measure the resistance according to the value(s) in the table below.

Standard Resistance:





NG -- REPAIR OR REPLACE CAN MAIN BUS LINE OR CONNECTOR (CAN NO. 1 J/C - SKID CONTROL ECU (BRAKE ACTUATOR ASSEMBLY))

OK -- REPLACE CAN NO. 1 JUNCTION CONNECTOR