Curiosii for ever!: Car repair manuals for everyone.

Heating and Air Conditioning: Service and Repair






HEATING / AIR CONDITIONING: REFRIGERANT: REPLACEMENT; 2013 MY FR-S [03/2012 -]

1. RECOVER REFRIGERANT FROM REFRIGERATION SYSTEM

(a) Start the engine.

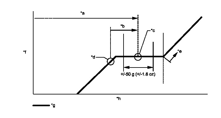
(b) Operate the cooler compressor under the conditions shown below:





This causes most of the compressor oil from the various components of the A/C system to collect in the A/C compressor.

NOTICE:
It is not necessary to operate the cooler compressor if the A/C does not operate because of compressor lock, etc.

(c) Stop the engine.

(d) Recover the refrigerant from the A/C system using a refrigerant recovery unit.

HINT
Use the refrigerant recovery unit in accordance with the manufacturer's instruction manual.

2. CHARGE REFRIGERANT





HINT
Charge refrigerant in accordance with the equipment manual.

(a) Perform vacuum purging using a vacuum pump.

(b) Charge refrigerant HFC-134a (R134a).

SST : 09985-20010

09985-02130

09985-02150

09985-02090

09985-02110

09985-02010

09985-02050

09985-02060

09985-02070

Standard:

390 +/-50 g (13.8 +/-1.8 oz)









NOTICE:
* Do not operate the cooler compressor before charging refrigerant as the cooler compressor will not work properly without any refrigerant, and will overheat.
* The system may need to be charged with approximately 100 g (3.53 oz) of refrigerant after bubbles disappear. The refrigerant amount should be checked by measuring its quantity, and not with the sight glass.

3. WARM UP ENGINE

(a) Warm up the engine at less than 1640 rpm for 2 minutes or more after charging the refrigerant.

NOTICE:
Be sure to warm up the compressor by turning the A/C switch on after removing and installing the cooler refrigerant lines (including the compressor) to prevent damage to the compressor.

4. CHECK FOR REFRIGERANT GAS LEAK

(a) After recharging the refrigerant, check for refrigerant gas leakage using a halogen leak detector.

(1) Perform the operation observing the following instructions:

* Stop the engine.

* Secure good ventilation (the halogen leak detector may react to volatile gases other than refrigerant, such as evaporated gasoline or exhaust gas).

* Repeat the test 2 or 3 times.

* Make sure that some refrigerant remains in the refrigeration system.

HINT
When the compressor is off: approximately 392 to 588 kPa (4.0 to 6.0 kgf/cm2, 57 to 85 psi).

(2) Using a halogen leak detector, check the refrigerant line for leakage.









(3) If a gas leak is not detected from the drain hose, remove the blower motor control (blower resistor) from the cooling unit. Insert the halogen leak detector sensor into the unit and check for gas leakage.

(4) Disconnect the pressure switch connector and wait for approximately 20 minutes. Bring the halogen leak detector close to the pressure switch and check for gas leakage.