Curiosii for ever!: Car repair manuals for everyone.

Refrigerant Pressure Sensor / Switch: Testing and Inspection






HEATING / AIR CONDITIONING: AIR CONDITIONING PRESSURE SENSOR: ON-VEHICLE INSPECTION; 2013 MY FR-S [03/2012 -]

1. INSPECT AIR CONDITIONER TUBE AND ACCESSORY ASSEMBLY

(a) Check the wire harness.

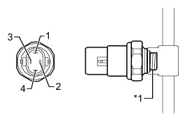
(1) Disconnect the air air conditioner tube and accessory assembly connector.

(2) Using an ohmmeter, measure the resistance of the wire harness side connector.









Standard Resistance:





(b) Check the air conditioning pressure sensor.

(1) Install a manifold gauge set.

(2) Apply pressure on the sensor as indicated in the table below, and check the resistance between the terminals.









Standard Resistance: