Curiosii for ever!: Car repair manuals for everyone.

Control Assembly: Testing and Inspection






HEATING / AIR CONDITIONING: AIR CONDITIONING PANEL: INSPECTION; 2013 MY FR-S [03/2012 -]

1. INSPECT NO. 3 HEATER CONTROL SUB-ASSEMBLY

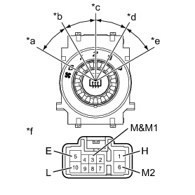
(a) Check the heater control assembly resistance.









(b) Measure the resistance according to the value(s) in the table below.

Standard Resistance:





(c) Check that the A/C Switch illumination.

OK:





(d) Check that the indicator light.

Standard:





2. INSPECT HEATER CONTROL SUB-ASSEMBLY

(a) Check the heater control assembly resistance.









(b) Measure the resistance according to the value(s) in the table below.

Standard Resistance:





(c) Check the heater control assembly resistance.









(d) Measure the resistance according to the value(s) in the table below.

Standard Resistance:





(e) Check that the Rr DEF switch illumination.

OK:





(f) Check that the indicator light.

Standard:





3. INSPECT NO. 1 HEATER CONTROL SUB-ASSEMBLY

(a) Check that the FRS switch illumination.









OK:





(b) Check that the indicator light.

Standard: