Curiosii for ever!: Car repair manuals for everyone.

Cruise Control Switch Circuit






CRUISE CONTROL: CRUISE CONTROL SYSTEM: Cruise Control Switch Circuit; 2013 MY FR-S [03/2012 -]
- Cruise Control Switch Circuit

DESCRIPTION

The cruise control main switch is used to turn the cruise control system on and off, as well as operate 7 functions: SET, - (COAST), TAP-DOWN, RES (RESUME), + (ACCEL), TAP-UP and CANCEL. The SET, TAP-DOWN and - (COAST) functions, and the RES (RESUME), TAP-UP and + (ACCEL) functions are operated with the same switch. The cruise control main switch is an automatic return type switch which turns on only while operating it in the direction of each arrow and turns off after releasing it. The internal contact points of the cruise control main switch turn on with switch operation. Then the ECM reads the voltage value that has been changed by the switch operation to control SET, - (COAST), RES (RESUME), + (ACCEL), and CANCEL.

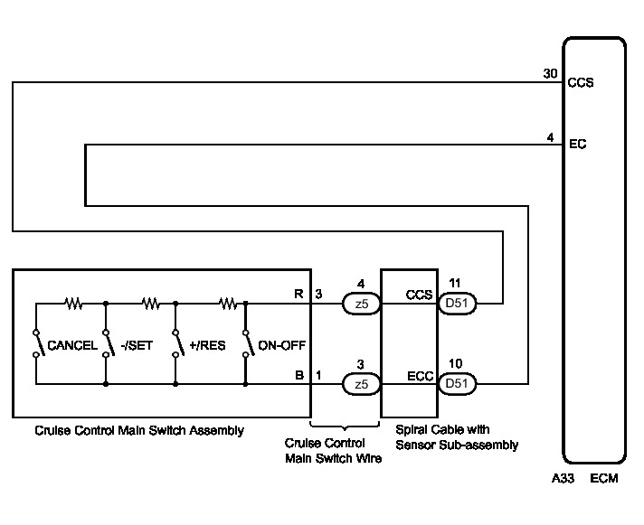
WIRING DIAGRAM





INSPECTION PROCEDURE

PROCEDURE

1. READ VALUE ON TECHSTREAM









(a) Connect the Techstream to the DLC3.

(b) Turn the ignition switch to ON.

(c) Turn the Techstream on.

(d) Select the following menu items: Powertrain / Cruise Control / Data List.

(e) Check the Data List to confirm proper functioning of the cruise control main switch.

Cruise Control





OK:

When the cruise control main switch is operated, the display changes as shown above.

NG -- INSPECT CRUISE CONTROL MAIN SWITCH ASSEMBLY

OK -- PROCEED TO NEXT SUSPECTED AREA SHOWN IN PROBLEM SYMPTOMS TABLE Symptom Related Diagnostic Procedures

2. INSPECT CRUISE CONTROL MAIN SWITCH ASSEMBLY

(a) Inspect the cruise control main switch assembly Testing and Inspection.

NG -- REPLACE CRUISE CONTROL MAIN SWITCH ASSEMBLY Removal
OK -- Continue to next step.

3. CHECK CRUISE CONTROL MAIN SWITCH WIRE

(a) Disconnect the cruise control main switch assembly connector.

(b) Disconnect the spiral cable with sensor sub-assembly connector.









(c) Measure the resistance according to the value(s) in the table below.

Standard Resistance (Check for open):





NG -- REPAIR OR REPLACE CRUISE CONTROL MAIN SWITCH WIRE
OK -- Continue to next step.

4. INSPECT SPIRAL CABLE WITH SENSOR SUB-ASSEMBLY

(a) Inspect the spiral cable with sensor sub-assembly Testing and Inspection.

NG -- REPLACE SPIRAL CABLE WITH SENSOR SUB-ASSEMBLY Removal
OK -- Continue to next step.

5. CHECK HARNESS AND CONNECTOR (SPIRAL CABLE WITH SENSOR SUB-ASSEMBLY - ECM AND BODY GROUND)

(a) Disconnect the ECM connector.

(b) Disconnect the spiral cable with sensor sub-assembly connector.

(c) Measure the resistance according to the value(s) in the table below.

Standard Resistance (Check for open):





Standard Resistance (Check for short):





NG -- REPAIR OR REPLACE HARNESS OR CONNECTOR (SPIRAL CABLE WITH SENSOR SUB-ASSEMBLY - ECM)

OK -- REPLACE ECM Removal