Curiosii for ever!: Car repair manuals for everyone.

Reassembly





2ZR-FE CHARGING: GENERATOR: REASSEMBLY

1. INSTALL GENERATOR DRIVE END FRAME BEARING

(a) Using SST and a press, press in a new generator drive end frame bearing.





SST : 09950-60010

09951-00470

SST : 09950-70010

09951-07100

(b) Fit the tabs on the retainer plate into the cutouts on the drive end frame to install the retainer plate.





(c) Install the 4 screws.

Torque : 2.3 Nm (23 kgf-cm, 20 in-lbf)

2. INSTALL GENERATOR ROTOR ASSEMBLY

(a) Place the drive end frame on the clutch pulley.

(b) Install the generator rotor assembly onto the drive end frame.





(c) Place the generator washer on the generator rotor.





3. INSTALL GENERATOR COIL ASSEMBLY

(a) Using SST and a press, slowly press in the generator coil assembly.





SST : 09612-70100

09612-07240

(b) Install the 4 bolts.





Torque : 5.9 Nm (60 kgf-cm, 52 in-lbf)

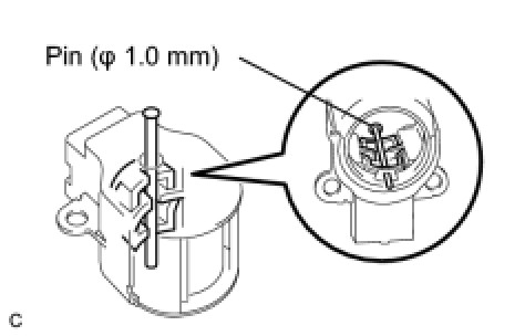
4. INSTALL GENERATOR BRUSH HOLDER ASSEMBLY

(a) While pushing the 2 brushes into the generator brush holder assembly, insert a dia1.0 mm (0.039 in.) pin into the brush holder hole.





(b) Install the brush holder assembly onto the generator coil with the 2 screws.





Torque : 1.8 Nm (18 kgf-cm, 16 in-lbf)

(c) Pull out the pin from the generator brush holder.





5. INSTALL GENERATOR TERMINAL INSULATOR

(a) Install the terminal insulator onto the generator coil.





NOTICE:
Pay attention to installation direction of the terminal insulator.

6. INSTALL GENERATOR REAR END COVER

(a) Install the generator rear end cover onto the generator coil with the 3 nuts.





Torque : 4.6 Nm (47 kgf-cm, 41 in-lbf)

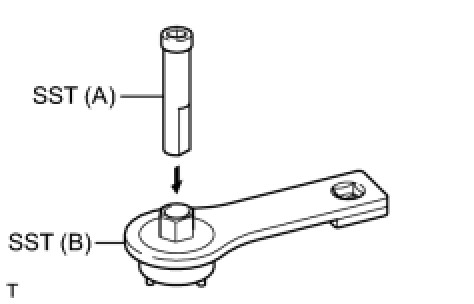
7. INSTALL GENERATOR CLUTCH PULLEY

(a) Temporarily install the clutch pulley onto the rotor shaft.

(b) Set SST (A) and (B).





SST : 09820-63021

(c) Clamp SST (A) in a vise.





(d) Place the rotor shaft end into SST (A).

(e) Fit SST (B) to the clutch pulley.





(f) Tighten the pulley by turning SST (B) in the direction shown in the illustration.





without SST - Torque : 111 Nm (1127 kgf-cm, 82 ft-lbf)

with SST - Torque : 84 Nm (857 kgf-cm, 62 ft-lbf)

NOTICE:
* Use a torque wrench with a fulcrum length of 318 mm (12.52 in.).
* This torque value is effective when SST is parallel to the torque wrench.

(g) Remove the generator assembly from SST.

(h) Check that the clutch pulley rotates smoothly.

(i) Install a new clutch pulley cap onto the clutch pulley.