Curiosii for ever!: Car repair manuals for everyone.

Reassembly





2AZ-FE CHARGING: GENERATOR: REASSEMBLY

1. INSTALL GENERATOR DRIVE END FRAME BEARING

(a) Using SST and a press, press in a new generator drive end frame bearing.





SST : 09950-60010

09951-00250

SST : 09950-70010

09951-07100

(b) Fit the tabs on the retainer plate into the cutouts on the drive end frame to install the retainer plate.





(c) Install the 4 screws.

Torque : 2.3 Nm (23 kgf-cm, 20 in-lbf)

2. INSTALL GENERATOR ROTOR ASSEMBLY

(a) Place the drive end frame on the clutch pulley.

(b) Install the generator rotor onto the generator rectifier end frame.





(c) Place a new generator washer on the generator rotor.





3. INSTALL GENERATOR COIL ASSEMBLY

(a) Using SST and a press, press in the generator coil assembly to the drive end frame.





SST : 09612-70100

09612-07240

(b) Tighten the 4 bolts.





Torque : 5.8 Nm (59 kgf-cm, 51 in-lbf)

(c) Install the cord clip with the bolt.





Torque : 4.6 Nm (47 kgf-cm, 41 in-lbf)

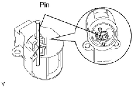
4. INSTALL GENERATOR BRUSH HOLDER ASSEMBLY

(a) While pushing the 2 brushes into the generator brush holder, insert a 1.0 mm (0.039 in.) pin into the generator brush holder.





(b) Install the generator brush holder with the 2 screws.





Torque : 1.8 Nm (18 kgf-cm, 16 in-lbf)

(c) Pull the pin out of the generator brush holder.





5. INSTALL GENERATOR TERMINAL INSULATOR

(a) Install the terminal insulator onto the generator rectifier end frame.





6. INSTALL GENERATOR REAR END COVER

(a) Install the generator rear end cover with the 3 nuts.





Torque : 4.6 Nm (47 kgf-cm, 41 in-lbf)

7. INSTALL GENERATOR CLUTCH PULLEY

(a) Temporarily install the clutch pulley onto the rotor shaft.

(b) Set SST (A) and (B).





SST : 09820-63020

(c) Clamp SST (A) in a vise.

(d) Place the rotor shaft end into SST (A).





(e) Fit SST (B) to the clutch pulley.





(f) Tighten the pulley by turning SST (B) in the direction shown in the illustration.





Torque : 80 Nm (816 kgf-cm, 59 ft-lbf)

NOTICE:
The torque shown above should be used for tightening without using the SST. When the SST is used for tightening, the torque should be calculated based on the length of the SST Service Precautions.

(g) Remove the generator assembly from the SST.

(h) Check that the clutch pulley rotates smoothly.

(i) Install a new clutch pulley cap to the clutch pulley.