Curiosii for ever!: Car repair manuals for everyone.

Installation





WINDOW / GLASS: WINDSHIELD GLASS: INSTALLATION

1. CLEAN WINDSHIELD GLASS





(a) Using a scraper, remove the damaged stoppers, dam and adhesive from the windshield glass.

NOTICE:
Be careful not to damage the windshield glass.

(b) Clean the outer edge of the windshield glass with a non-residue solvent.

NOTICE:
* Do not touch the windshield glass surface after cleaning it.
* Even if using a new windshield glass, clean the windshield glass with a non-residue solvent.

2. CLEAN VEHICLE BODY

(a) Clean and shape the contact surface of the vehicle body.





Text in Illustration





(1) Using a knife, cut away any rough adhesive on the contact surface of the vehicle body to ensure the appropriate surface shape.

NOTICE:
Do not damage the vehicle body.

HINT
Leave as much adhesive on the vehicle body as possible.

(2) Clean the contact surface of the vehicle body with a piece of cloth saturated with cleaner.

HINT
Clean the vehicle body even if all the adhesive has been removed.

3. INSTALL NO. 2 WINDSHIELD GLASS STOPPER (for 2-piece Type)

(a) Using a brush or sponge, coat the application area of the No. 2 stoppers with Primer G.

NOTICE:
* Do not apply too much primer.
* Allow the primer coating to dry for 3 minutes or more.
* Do not keep any of the opened Primer G for later use.

HINT
If an area other than that specified is coated by accident, wipe off the primer with a clean piece of cloth before it dries.

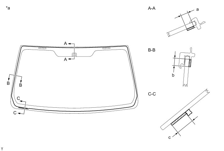
(b) Install 2 new No. 2 stoppers onto the windshield glass, as shown in the illustration.





Text in Illustration





Standard Dimension:





HINT
Only 2-piece type No. 2 stoppers are supplied. Use the 2-piece type stoppers even if a 1-piece type was used.

4. INSTALL NO. 1 WINDSHIELD GLASS STOPPER (for 2-piece Type)

(a) Install 2 new No. 1 stoppers to the vehicle body, as shown in the illustration.





Text in Illustration





HINT
Only 2-piece type No. 1 stoppers are supplied. Use the 2-piece type stoppers even if a 1-piece type was used.

5. INSTALL WINDSHIELD WEATHERSTRIP

(a) Using a brush or sponge, coat the application area of the windshield weatherstrip with Primer G.





Standard Dimension:





NOTICE:
* Do not apply too much primer.
* Allow the primer coating to dry for 3 minutes or more.
* Do not keep any of the opened Primer G for later use.

HINT
If an area other than that specified is coated by accident, wipe off the primer with a clean piece of cloth before it dries.

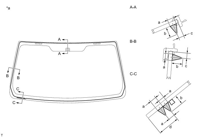
(b) Install a new windshield weatherstrip onto the windshield glass, as shown in the illustration.





Text in Illustration





(c) Slowly pull and remove the paper backing extending from the windshield weatherstrip, and fasten the windshield weatherstrip.

(d) Press on the sections with double-sided tape by hand.

6. INSTALL WINDOW GLASS ADHESIVE DAM

(a) Using a brush or sponge, coat the application area of adhesive dam with Primer G.

NOTICE:
* Do not apply too much primer.
* Allow the primer coating to dry for 3 minutes or more.
* Do not keep any of the opened Primer G for later use.

HINT
If an area other than that specified is coated by accident, wipe off the primer with a clean piece of cloth before it dries.

(b) Install a new adhesive dam onto the windshield glass, as shown in the illustration.





Text in Illustration





Standard Dimension:





NOTICE:
Install the new adhesive dam along the ceramic notches.

7. INSTALL WINDSHIELD GLASS

(a) Position the windshield glass.





Text in Illustration





(1) Using suction cups, place the windshield glass in the correct position.

(2) Check that the whole contact surface of the windshield glass rim is perfectly even.

(3) Align the matchmarks on the windshield glass and vehicle body.

NOTICE:
Check that the windshield glass stoppers are attached to the vehicle body correctly.

(b) Using a brush, coat the installation surface on the vehicle body with Primer M.





Text in Illustration





NOTICE:
* Do not coat the adhesive with Primer M.
* Do not apply too much primer.
* Allow the primer coating to dry for 3 minutes or more.
* Do not keep any of the opened Primer M for later use.

HINT
If an area other than that specified is coated by accident, wipe off the primer with a clean piece of cloth before it dries

(c) Using a brush or sponge, coat the application areas that still have adhesive attached with Primer G.





Text in Illustration





Standard Dimension:





NOTICE:
* Do not apply too much primer.
* Allow the primer coating to dry for 3 minutes or more.
* Do not keep any of the opened Primer G for later use.

HINT
* Apply Primer G onto the ceramic notches.
* If an area other than that specified is coated by accident, wipe off the primer with a clean piece of cloth before it dries.

(d) Apply adhesive to the glass.

Adhesive:

Toyota Genuine Windshield Glass Adhesive or equivalent

(1) Cut off the tip of the cartridge nozzle, as shown in the illustration.





Standard Dimension:





HINT
After cutting off the tip, use all adhesive within the time limit described in the table below.

Usage Time Frame:





(2) Load the sealer gun with cartridge.

(3) Apply adhesive to the windshield glass, as shown in the illustration.





Text in Illustration





Standard Dimension:





(e) Install the windshield glass.





Text in Illustration





(1) Using suction cups, position the windshield glass so that the matchmarks are aligned, and press it in gently along the rim.

NOTICE:
* Check that the windshield glass stoppers are attached to the vehicle body correctly.
* Check the clearance between the vehicle body and windshield glass.

(2) Lightly press the front surface of the windshield glass to ensure a close fit.

HINT
Press the glass with force of 98 N (10 kgf, 22 lb) or more.

(3) If necessary, use a scraper to correct the level or position of adhesive that has been applied.





Text in Illustration





HINT
Apply adhesive onto the windshield glass rim.

(4) Hold the windshield glass using protective tape until applied adhesive hardens.

NOTICE:
Do not drive the vehicle within the time limits described in the table below.

Minimum Time:





8. CHECK FOR LEAKAGE AND REPAIR

(a) After the adhesive has hardened, apply water from the outside of the vehicle. Check that no water leaks into the cabin.

(b) If water leaks into the cabin, allow the water to dry and add adhesive.

(c) Remove the protective tape.

9. INSTALL ROOF HEADLINING ASSEMBLY

Installation

HINT
Return the front section of the roof headlining assembly to the original position.

10. INSTALL INNER REAR VIEW MIRROR ASSEMBLY Installation

11. INSTALL WINDSHIELD WIPER MOTOR ASSEMBLY

Installation