Curiosii for ever!: Car repair manuals for everyone.

Cylinder Head Assembly














Cylinder Head Sub-assembly

NOTICE:
The cylinder head bolts are tightened in 2 progressive steps.

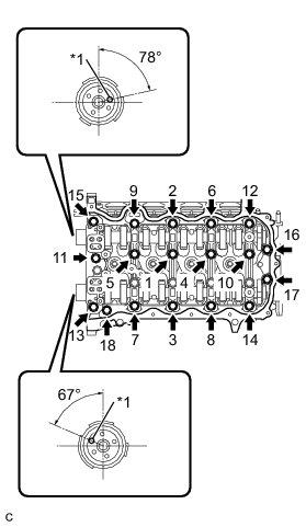
Using several steps, uniformly install and tighten the 10 cylinder head bolts and 10 plate washers with a 10 mm bi-hexagon wrench in the order shown in the illustration.





Torque 32 Nm (326 kgf-cm, 24 ft-lbf)
Retighten the cylinder head bolts an additional 90°, and then once more 90°.

Cylinder Head Set Bolt








Standard bolt length 125.3 to 126.7 mm (4.9331 to 4.9882 in.)
Maximum bolt length 128.2 mm (5.047 in.)

If the bolt length is greater than the maximum, replace the cylinder head set bolt.


Maximum Warpage:





If the warpage is greater than the maximum, replace the cylinder head.

Camshaft Bearing Cap





Tighten the 5 bolts in the order shown in the illustration.
Torque 16 Nm (163 kgf-cm, 12 ft-lbf)

Camshaft Housing Sub-Assembly





Install the camshaft housing and tighten the 18 bolts in the order shown in the illustration.
Torque 28 Nm (286 kgf-cm, 21 ft-lbf)

Intake Manifold Specifications

Exhaust Manifold Specifications

Camshaft Timing Gear Specifications