Curiosii for ever!: Car repair manuals for everyone.

Steering Off Center Adjustment Procedure





STEERING COLUMN: STEERING SYSTEM: ADJUSTMENT

1. STEERING OFF CENTER ADJUSTMENT PROCEDURE

(a) Inspect the steering wheel off center.

(1) Apply masking tape on the top center of the steering wheel and upper steering column cover.





Text in Illustration





(2) Drive the vehicle in a straight line for 100 m (328 ft.) at a constant speed of 56 km/h (35 mph), and hold the steering wheel to maintain the course.

(3) Draw a line on the masking tape as shown in the illustration.





Text in Illustration





(4) Turn the steering wheel to its straight position.

HINT
Refer to the upper surface of the steering wheel, steering spoke and SRS airbag line for the straight position.

(5) Draw a new line on the masking tape of the steering wheel as shown in the illustration.





Text in Illustration





(6) Measure the distance between the 2 lines on the masking tape of the steering wheel.

(7) Convert the measured distance to steering angle.

Standard:

Measured distance 1 mm (0.0394 in.) = Steering angle approximately 1 degree

HINT
Make a note of the steering angle.

(b) Adjust the steering angle.

(1) Lift up the vehicle.

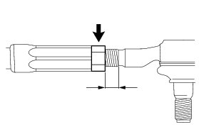
(2) Measure the distance from the tie rod RH and LH lock nuts to the tie rod end screws threads.





HINT
Make a note of the measured values.

(3) Loosen the RH and LH lock nuts.

(4) Turn the tie rod RH and LH by the same amount to adjust the steering angle.

Standard:

1 turn 360 degree of tie rod (1.5 mm (0.0591 in.) horizontal movement) = 9 degree of steering angle

(5) Tighten the RH and LH lock nuts to the specified torque.

Torque : 74 Nm (755 kgf-cm, 55 ft-lbf)

NOTICE:
Make sure that the difference in distance between the tie rod end RH and LH and the lock nuts is within 1.5 mm (0.0591 in.).