Curiosii for ever!: Car repair manuals for everyone.

Front Wheel Alignment





ALIGNMENT / HANDLING DIAGNOSIS: FRONT WHEEL ALIGNMENT: ADJUSTMENT

NOTICE:
For vehicles equipped with VSC, if the wheel alignment has been adjusted, and if suspension or underbody components have been removed/installed or replaced, be sure to perform the following initialization procedure in order for the system to function normally:

(a) Perform zero point calibration of the yaw rate and acceleration sensor and test mode inspection Programming and Relearning.

1. INSPECT TIRES Component Tests and General Diagnostics

2. MEASURE VEHICLE HEIGHT





Measuring points:

A
Ground clearance of front wheel center

B
Ground clearance of front lower arm set rear bolt center

C
Ground clearance of rear wheel center

D
Ground clearance of axle beam set bolt center

Vehicle Height (Unloaded Vehicle):





NOTICE:
* The standard value shown here is a value that is used for adjusting the wheel alignment and does not indicate the height of an actual vehicle.
* Before inspecting the wheel alignment, check the vehicle height.
* Perform the inspection while the vehicle is empty (with the tire puncture repair kit in the vehicle and the tools removed from the vehicle).

HINT
Bounce the vehicle up and down at the corners to stabilize the suspension before inspecting the vehicle height.

3. INSPECT CAMBER, CASTER AND STEERING AXIS INCLINATION





(a) Put the front wheel on the center of the alignment tester.

Text in Illustration





(b) Remove the wheel cap.

(c) Set the camber-caster-steering axis inclination gauge at the center of the axle hub or drive shaft.

(d) Inspect the camber, caster and steering axis inclination.

Camber, Caster and Steering Axis Inclination (Unloaded Vehicle):





NOTICE:
* Perform the inspection while the vehicle is empty (with the tire puncture repair kit in the vehicle and the tools removed from the vehicle).
* The tolerance for the difference between the left and right wheels is 30' (0.5°) or less for both the camber and caster.

(e) Remove the camber-caster-steering axis inclination gauge and attachment.

(f) Install the wheel cap.

If the caster and steering axis inclination are not within the specified values after the camber has been correctly adjusted, recheck the suspension parts for damage and wear.

4. ADJUST CAMBER

NOTICE:
Inspect the toe-in after the camber has been adjusted.

(a) Remove the front wheel.

(b) Remove the 2 bolts and separate the speed sensor and flexible hose.





(c) Remove the 2 nuts from the lower side of the shock absorber.





HINT
Keep the bolt from rotating while loosening and removing the nuts.

(d) Clean the installation surfaces of the shock absorber and steering knuckle.

(e) Provisionally install the 2 nuts (Step A).

(f) Fully push or pull the axle hub in the direction of the required adjustment (Step B).





(g) Tighten the 2 nuts.





Torque : 164 Nm (1672 kgf-cm, 121 ft-lbf)

HINT
Keep the bolt from rotating while loosening and removing the nuts.

(h) Install the flexible hose and speed sensor with the 2 bolts.





Torque : 29 Nm (300 kgf-cm, 22 ft-lbf)

NOTICE:
Install the flexible hose and speed sensor without twisting them.

(i) Install the front wheel.

Torque : 103 Nm (1050 kgf-cm, 76 ft-lbf)

(j) Check the camber.





If the measured value is not within the specifications, calculate the required adjustment amount using the formula below.

(Camber adjustment amount) = Center of specified range - Measured value

Check the combination of installed bolts. Select appropriate bolts from the table below to adjust the camber to within the specified range.

HINT
Try to adjust the camber to the center of the specified range.





(k) Table (1) (Move the axle toward the positive side)





(l) Table (2) (Move the axle toward the negative side).





The body and suspension may be damaged if the camber is not correctly adjusted in accordance with the above table.

NOTICE:
Replace the nut with a new one when replacing the bolt.

(m) Repeat the steps mentioned above. At step (A), replace 1 or 2 selected bolts.

HINT
Replace one bolt at a time when replacing 2 bolts.

5. INSPECT TOE-IN

(a) Bounce the vehicle up and down at the corners to stabilize the suspension.

(b) Release the parking brake and move the shift lever to the neutral position.

(c) Push the vehicle straight ahead approximately 5 m (16.4 ft.).

(d) Put tread center marks on the rearmost points of the front wheels and measure the distance between the marks (Dimension B).





Text in Illustration





(e) Slowly push the vehicle straight ahead to cause the front wheels to rotate 180° using the front tire valve as a reference point.

HINT
Do not allow the wheels to rotate more than 180°. If the wheels rotate more than 180°, perform the procedure from the beginning again.

(f) Measure the distance between the tread center marks on the front side of the wheels (dimension A).





Text in Illustration





Toe-in (Unloaded Vehicle):





If the toe-in is not within the specified value, adjust it at the rack ends.

6. ADJUST TOE-IN





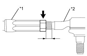
(a) Measure the thread lengths of the right and left tie rod ends.

Text in Illustration





Standard:

Difference in thread length of 1.5 mm (0.0591 in.) or less

(b) Loosen the tie rod lock nuts.

(c) Adjust the tie rods if the difference in thread length between the right and left tie rod ends is not within the specified range.

(1) Extend the shorter tie rod end if the measured toe-in deviates toward the outer side.

(2) Shorten the longer tie rod end if the measured toe-in deviates toward the inner side.

(d) Turn the right and left tie rods by an equal amount to adjust the toe-in.

HINT
Try to adjust the toe-in to the center of the specified range.

(e) Make sure that the lengths of the right and left tie rod ends are the same.

Toe-in (Unloaded Vehicle):





(f) Tighten the tie rod lock nuts to the specified torque.

Torque : 74 Nm (755 kgf-cm, 55 ft-lbf)

NOTICE:
Hold the hexagonal portion of the tie rod so that it does not rotate with the lock nut, and tighten the lock nut.

7. INSPECT WHEEL TURNING ANGLE





Text in Illustration





(a) Fully turn the steering wheel left and right, and measure the wheel turning angle.

Wheel Turning Angle (Unloaded Vehicle):





NOTICE:
Perform the inspection while the vehicle is empty (with the tire puncture repair kit in the vehicle and the tools removed from the vehicle).

If the right and left inside wheel angles are not within the specified range, check the right and left rack end lengths.

8. FRONT WHEELS FACING STRAIGHT AHEAD

9. PERFORM YAW RATE SENSOR ZERO POINT CALIBRATION

Programming and Relearning