Curiosii for ever!: Car repair manuals for everyone.

Cylinder Head Assembly

CYLINDER HEAD SUB-ASSEMBLY

Install and tighten the 10 cylinder head bolts and plate washers uniformly with as a 10 mm bi-hexagon wrench in the sequence shown in the illustration.






Torque 49 Nm (500 kgf-cm, 36 ft-lbf)

Mark the front of the cylinder head bolt with paint.






Retighten the cylinder head bolts by additional 90° and one more additional 45° as shown in the illustration.

Check that the paint mark is now at a 135° angle from the front.

CYLINDER HEAD






CAMSHAFT BEARING CAP ()

Tighten the 10 bolts in the order shown in the illustration.






Torque 16 Nm (163 kgf-cm, 12 ft-lbf)


CAMSHAFT BEARING CAP ()

Install the bearing caps with the bolts in the order shown in the illustration.






Text in Illustration






Torque 27 Nm (275 kgf-cm, 20 ft-lbf)

Tighten the 10 bolts in the order shown in the illustration.






Torque 16 Nm (163 kgf-cm, 12 ft-lbf)

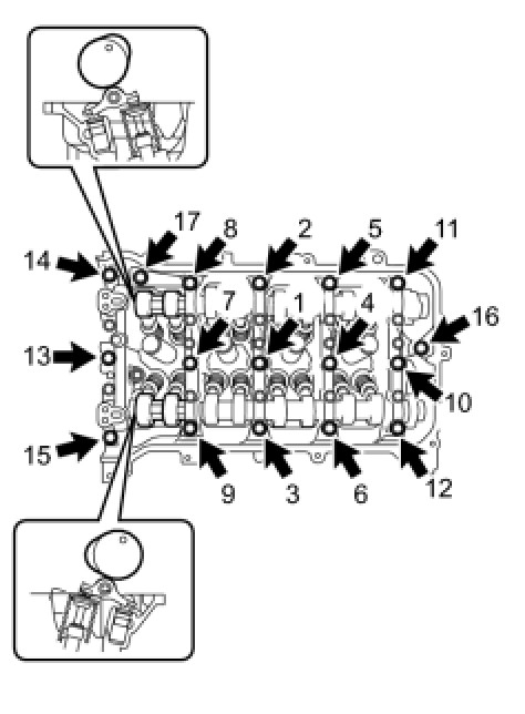
CAMSHAFT HOUSING SUB-ASSEMBLY






Install the camshaft housing and tighten the 17 bolts in the order shown in the illustration.

Torque 27 Nm (275 kgf-cm, 20 ft-lbf)

INTAKE MANIFOLD TORQUE & SEQUENCE Specifications

EXHAUST MANIFOLD TORQUE & SEQUENCE Specifications

CAMSHAFT GEAR/SPROCKET TORQUE Specifications