Ignition Relay: Testing and Inspection
2ZR-FE ENGINE CONTROL SYSTEM: IGNITION RELAY NO. 1: INSPECTION
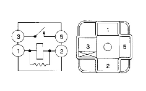
1. INSPECT NO. 1 IGNITION RELAY
(a) Check the resistance.
(1) Measure the resistance according to the value (s) in the table below.
Standard resistance:
If the result is not as specified, replace the ignition relay.