Curiosii for ever!: Car repair manuals for everyone.

Installation





2AZ-FE IGNITION: IGNITION COIL AND SPARK PLUG: INSTALLATION

1. INSTALL SPARK PLUG





(a) Install the 4 spark plugs.

Torque : 19 Nm (194 kgf-cm, 14 ft-lbf)

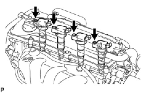
2. INSTALL IGNITION COIL ASSEMBLY





(a) Install the 4 ignition coils with the 4 bolts.

Torque : 9.0 Nm (92 kgf-cm, 80 in-lbf)

(b) Connect the 4 ignition coil connectors.

3. INSPECT IGNITION TIMING Engine

4. INSTALL NO. 1 ENGINE COVER SUB-ASSEMBLY





(a) Install the engine cover with the 2 nuts.

Torque : 9.0 Nm (92 kgf-cm, 80 in-lbf)