Curiosii for ever!: Car repair manuals for everyone.

Installation





WINDOW / GLASS: WINDSHIELD GLASS: INSTALLATION

1. INSTALL NO. 2 WINDSHIELD GLASS STOPPER (for 2-piece Type)

(a) Using a brush or sponge, coat the application area of the No. 2 windshield glass stoppers with Primer G.

NOTICE:
* Do not apply too much primer.
* Allow the primer coating to dry for 3 minutes or more.
* Do not keep any of the opened Primer G for later use.

HINT
If an area that is not specified is coated by accident, wipe off the primer with a clean piece of cloth before it dries.

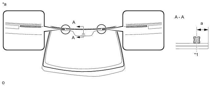
(b) Install 2 new No. 2 windshield glass stoppers to the windshield glass as shown in the illustration.





Text in Illustration





Standard Dimension:





HINT
Only 2-piece type No. 1 windshield glass stoppers are supplied. Use the 2-piece type stoppers even if the 1-piece type stoppers were used.

2. INSTALL NO. 1 WINDSHIELD GLASS STOPPER (for 2-piece Type)

(a) Install 2 new No. 1 windshield glass stoppers to the vehicle body.

HINT
Only 2-piece type No. 1 windshield glass stoppers are supplied. Use the 2-piece type stoppers even if the 1-piece type stoppers were used.

3. INSTALL WINDOW GLASS ADHESIVE DAM

(a) Using a brush or sponge, coat the application area of a new windshield glass adhesive dam with Primer G.

NOTICE:
* Do not apply too much primer.
* Allow the primer coating to dry for 3 minutes or more.
* Do not keep any of the opened Primer G for later use.
* Install the new adhesive dam along the ceramic notches.

HINT
If an area that is not specified is coated by accident, wipe off the primer with a clean piece of cloth before it dries.

(b) Install the adhesive dam to the windshield glass as shown in the illustration.

HINT
Position one end of the adhesive dam in place as shown in the illustration, install the dam to the glass, and then cut it so that it is the appropriate size.





Text in Illustration









Text in Illustration





Standard Dimension:





NOTICE:
Install the new adhesive dam along the dam reference line.

4. INSTALL WINDSHIELD GLASS

(a) Position the glass.





Text in Illustration





(1) Using suction cups, place the glass in the correct position.

(2) Check that the whole contact surface of the glass rim is perfectly even.

(3) Place reference marks between the glass and vehicle body.

NOTICE:
Check that the stoppers are attached to the vehicle body correctly.

HINT
When reusing the glass, check and correct the reference mark positions.

(4) Remove the glass.

(b) Using a brush, coat the exposed part of the vehicle body with Primer M.





Text in Illustration





NOTICE:
* Do not coat the adhesive with Primer M.
* Do not apply too much primer.
* Allow the primer coating to dry for 3 minutes or more.
* Do not keep any of the opened Primer M for later use.

HINT
If an area that is not specified is coated by accident, wipe off the primer with a clean piece of cloth before it dries.

(c) Using a brush or sponge, coat the edge of the glass and the contact surface with Primer G.





Text in Illustration





Standard Dimension:





NOTICE:
* Do not apply too much primer.
* Allow the primer coating to dry for 3 minutes or more.
* Do not keep any of the opened Primer G for later use.

HINT
* Apply Primer G to the ceramic notches.
* If an area that is not specified is coated by accident, wipe off the primer with a clean piece of cloth before it dries.

(d) Apply adhesive to the glass.

Adhesive:

Toyota Genuine Windshield Glass Adhesive or equivalent

(1) Cut off the tip of a cartridge nozzle as shown in the illustration.

HINT
After cutting off the tip, use all adhesive within the time described in the table below.

Usage Time Frame:





(2) Load a sealer gun with the cartridge.

(3) Coat the glass with adhesive as shown in the illustration.





Text in Illustration





Standard Dimension:





(e) Install the glass.

(1) Using suction cups, position the glass so that the reference marks are aligned and press it in gently along the rim.





Text in Illustration





NOTICE:
* Allow the primer coating to dry for 3 minutes or more.
* Check that the stoppers are attached to the vehicle body correctly.
* Check the clearance between the vehicle body and glass.

(2) Lightly press the front surface of the glass to ensure a close fit.

HINT
Press the glass with a force of 98 N (10 kgf, 22 lbf) or more.

(3) Apply non-residue solvent to a clean cloth and wipe off any excess or protruding adhesive.





HINT
Apply adhesive to any areas where the amount of adhesive is inadequate.

Text in Illustration





5. INSTALL WINDSHIELD OUTSIDE MOULDING

(a) Using a brush or sponge, coat the application area of a new windshield outside moulding with Primer G.

NOTICE:
* Do not apply too much primer.
* Allow the primer coating to dry for 3 minutes or more.
* Do not keep any of the opened Primer G for later use.

HINT
If an area that is not specified is coated by accident, wipe off the primer with a clean piece of cloth before it dries.

(b) Install a new windshield outside moulding as shown in the illustration.

(1) w/ Sliding Roof:





Text in Illustration





(2) w/o Sliding Roof:





Text in Illustration





NOTICE:
Do not drive the vehicle for the time described in the table below.

Minimum Time:





6. INSPECT FOR LEAK AND REPAIR

(a) Conduct a leak test after the adhesive has completely hardened.

(b) Seal any leaks with a sealer gun.

7. INSTALL ROOF HEADLINING ASSEMBLY Installation

8. INSTALL INNER REAR VIEW MIRROR ASSEMBLY

(a) Install the inner rear view mirror Installation.

9. INSTALL MAP LIGHT ASSEMBLY Installation

10. INSTALL ASSIST GRIP ASSEMBLY Installation

11. INSTALL VISOR HOLDER Installation

12. INSTALL VISOR ASSEMBLY LH Installation

13. INSTALL VISOR ASSEMBLY RH Installation

14. INSTALL FRONT PILLAR GARNISH LH Installation

15. INSTALL FRONT PILLAR GARNISH RH Installation

16. INSTALL FRONT DOOR OPENING TRIM WEATHERSTRIP LH Installation

17. INSTALL FRONT DOOR OPENING TRIM WEATHERSTRIP RH Installation

18. INSTALL NO. 1 ROOF DRIP SIDE FINISH MOULDING CLIP

19. INSTALL CENTER ROOF DRIP SIDE FINISH MOULDING LH

20. INSTALL CENTER ROOF DRIP SIDE FINISH MOULDING RH

HINT
Use the same procedure described for the LH side.

21. INSTALL NO. 2 UPPER COWL REINFORCEMENT COVER LH

(a) Clean the vehicle body surface.

(1) Using a heat light, heat the vehicle body surface.

(2) Remove the double-sided tape from the vehicle body.

(3) Wipe off any tape adhesive residue with cleaner.

(b) Install a new cover.

(1) Using a heat light, heat the vehicle body and cover.

(2) Remove the peeling paper from the face of the moulding.

HINT
After removing the peeling paper, keep the exposed adhesive free from foreign matter.





(3) Move the cover in the direction shown in the illustration to attach the claw.

(4) Attach the claw and 3 clips to install the cover.

22. INSTALL NO. 2 UPPER COWL REINFORCEMENT COVER RH

HINT
Use the same procedure described for the LH side.

23. INSTALL COWL TOP VENTILATOR LOUVER RH Installation

24. INSTALL COWL TOP VENTILATOR LOUVER LH Installation

25. INSTALL HOOD TO COWL TOP SEAL Installation

26. CONNECT CABLE TO NEGATIVE BATTERY TERMINAL

NOTICE:
When disconnecting the cable, some systems need to be initialized after the cable is reconnected Repair Instruction - Initialization.

27. INSTALL FRONT WIPER ARM AND BLADE ASSEMBLY RH Installation

28. INSTALL FRONT WIPER ARM AND BLADE ASSEMBLY LH Installation

29. INSTALL WINDSHIELD WIPER ARM COVER Installation