Curiosii for ever!: Car repair manuals for everyone.

Power Window Master Switch





WINDOW / GLASS: POWER WINDOW MASTER SWITCH: ON-VEHICLE INSPECTION

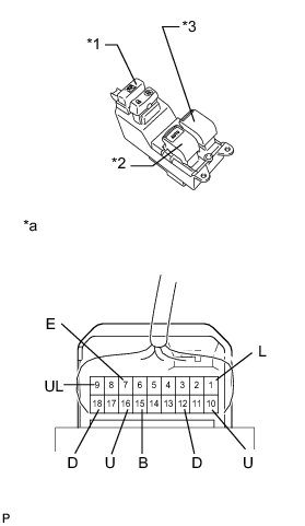
1. CHECK POWER WINDOW REGULATOR MASTER SWITCH ASSEMBLY





(a) Connect the switch connector.

(b) Measure the voltage according to the value(s) in the table below.

Standard Voltage:

for Driver Switch:





for Front Passenger Switch:





Text in Illustration