Curiosii for ever!: Car repair manuals for everyone.

Heating and Air Conditioning: Service and Repair





HEATING / AIR CONDITIONING: REFRIGERANT: REPLACEMENT

1. RECOVER REFRIGERANT FROM REFRIGERATION SYSTEM

(a) Start up the engine.

(b) Operate the cooler compressor at the conditions shown below:





This causes most of the compressor oil from the various components of the A/C system to collect in the A/C compressor.

NOTICE:
Do not need to operate the cooler compressor if the A/C does not operate because of compressor lock etc.

(c) Stop the engine.

(d) Recover the refrigerant from the A/C system using a refrigerant recovery unit.

HINT
Use the refrigerant recovery unit in accordance with the manufacturer's instruction manual.

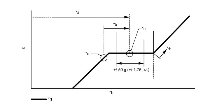
2. CHARGE REFRIGERANT

(a) Perform vacuum purging using a vacuum pump.

(b) Charge refrigerant HFC-134a (R134a).

Standard:

440 +/- 30 g (15.5 +/- 1.1 oz.)

SST : 09985-20010

09985-02010

09985-02050

09985-02060

09985-02070

09985-02080

09985-02090

09985-02110

09985-02130

09985-02140

09985-02150





Text in Illustration





NOTICE:
* Do not operate the cooler compressor before charging refrigerant as the cooler compressor will not work properly without any refrigerant, and will overheat.
* Approximately 100 g (3.53 oz.) of refrigerant may need to be charged after bubbles disappear. The refrigerant amount should be checked by measuring its quantity, and not with the sight glass.

3. WARM UP ENGINE

(a) Warm up the engine at less than 1850 rpm for 2 minutes or more after charging refrigerant.

NOTICE:
Be sure to warm up the compressor by turning the A/C switch on after removing and installing the cooler refrigerant lines (including the compressor) to prevent damage to the compressor.

4. CHECK FOR REFRIGERANT LEAK

(a) After recharging refrigerant, check for refrigerant gas leakage using a halogen leak detector.

(b) Carry out the test under the following conditions:

* Make sure that the ignition switch is off.

* Secure good ventilation (the halogen leak detector may react to volatile gases which are not refrigerant, such as evaporated gasoline and exhaust gas).

* Repeat the test 2 or 3 times.

* Make sure that there is some refrigerant remaining in the refrigeration system. When the compressor is off: approximately. 392 to 588 kPa (4 to 6 kgf/cm2, 57 to 85 psi).

(c) Using a halogen leak detector, check for refrigerant leaks from the refrigerant lines.





Text in Illustration





(d) Bring the halogen leak detector close to the drain hose with the detector's power off, and then turn the detector on.





Text in Illustration





HINT
* After the blower motor has stopped, let the cooling unit stand for more than 15 minutes.
* Bring the halogen leak detector sensor under the drain hose.
* When bringing the halogen leak detector close to the drain hose, make sure that the halogen leak detector does not react to volatile gases. If it is not possible to avoid interference from volatile gases, the vehicle should be lifted up to allow testing.

(e) If a refrigerant leak is not detected from the drain hose, remove the blower motor control from the cooling unit. Insert the halogen leak detector sensor into the unit and perform the test.

(f) Disconnect the pressure switch connector and leave it for approximately 20 minutes. Bring the halogen leak detector close to the pressure switch and perform the test.