Curiosii for ever!: Car repair manuals for everyone.

Center Airbag Sensor Communication Stop Mode








CAN COMMUNICATION: CAN COMMUNICATION SYSTEM: Center Airbag Sensor Communication Stop Mode

Center Airbag Sensor Communication Stop Mode

DESCRIPTION





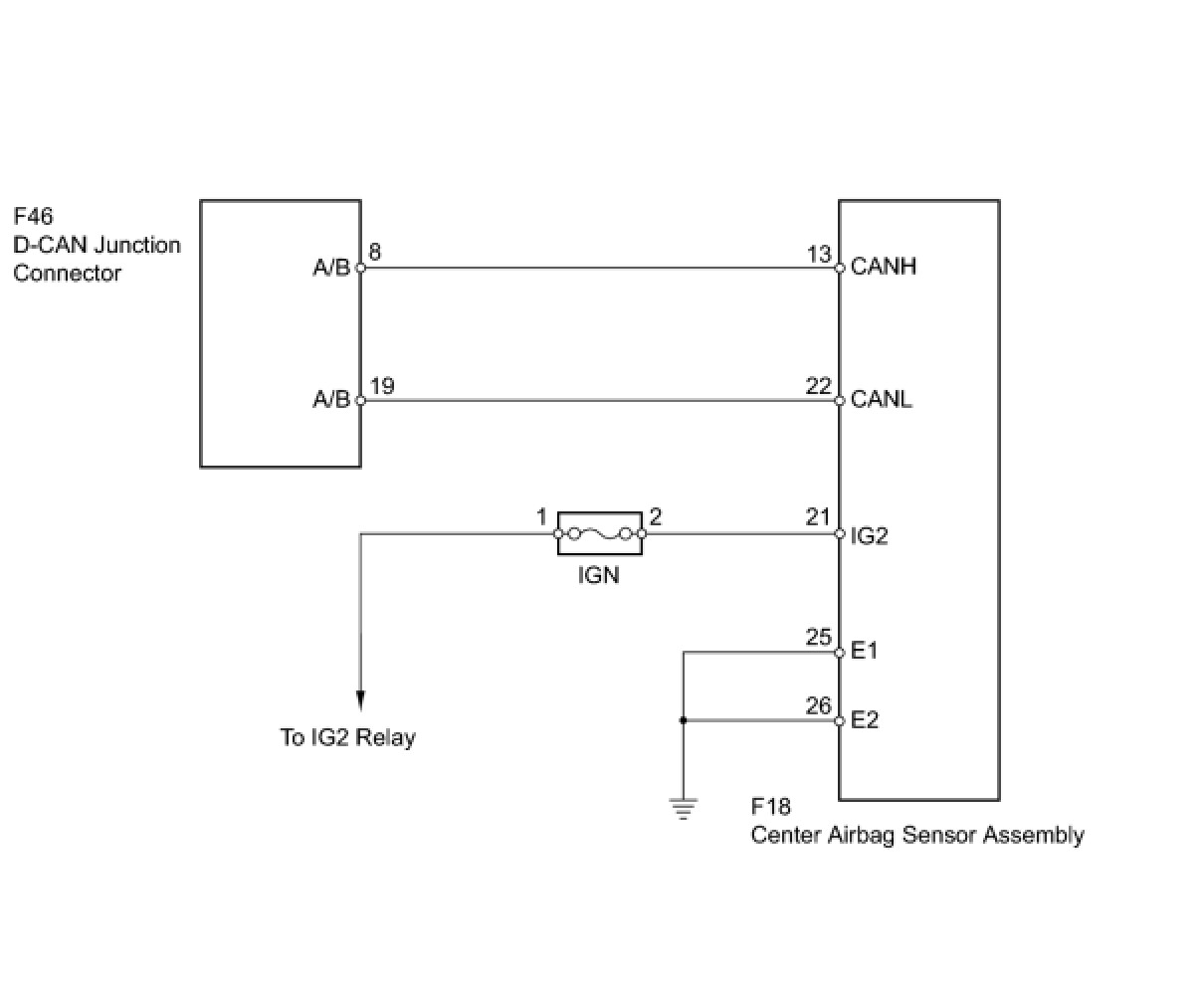
WIRING DIAGRAM





INSPECTION PROCEDURE
NOTICE:
- Turn the ignition switch off before measuring the resistances of the CAN main wire and the CAN branch wire.
- After the ignition switch is turned off, check that the key reminder warning system and light reminder warning system are not in operation.
- Before measuring the resistance, leave the vehicle as is for at least 1 minute and do not operate the ignition switch, any other switches or the doors. If doors need to be opened in order to check connectors, open the doors and leave them open.
HINT: Operating the ignition switch, any switches or any doors triggers related ECU and sensor communication with the CAN, which causes resistance variation.

PROCEDURE

1. CHECK CAN BUS LINE FOR DISCONNECTION (CENTER AIRBAG SENSOR ASSEMBLY BRANCH WIRE)




(a) Turn the ignition switch off.
(b) Disconnect the F18 center airbag sensor assembly connector.
(c) Measure the resistance according to the value in the table below.
Standard resistance:





(d) Reconnect the center airbag sensor assembly connector.
NG -- REPAIR OR REPLACE CAN BRANCH WIRE CONNECTED TO CENTER AIRBAG SENSOR ASSEMBLY (CAN-H, CAN-L)
OK -- Continue to next step.
2. CHECK HARNESS AND CONNECTOR (IG2, E1, E2)




(a) Disconnect the F18 center airbag sensor assembly connector.
(b) Measure the resistance according to the values in the table below.
Standard resistance:





(c) Measure the voltage according to the value in the table below.
Standard voltage:






NG -- REPAIR OR REPLACE HARNESS OR CONNECTOR
OK -- REPLACE CENTER AIRBAG SENSOR ASSEMBLY